Каталог запасных частей к технике: LiuGong ZL50C. 30E0342 000 FRONT FRAME

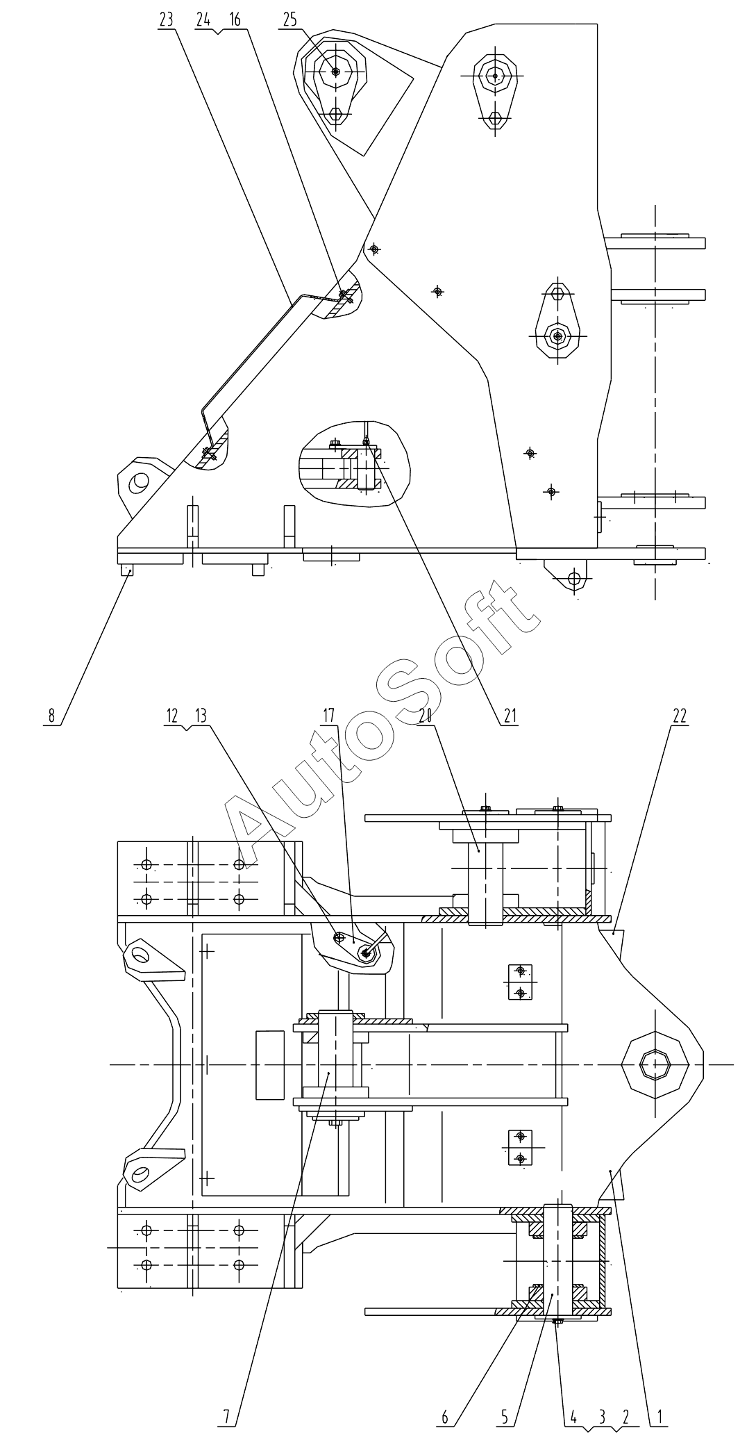
13
25
24
23
22
21
20
17
16
1
12
8
7
6
5
4
3
2
Позиция на иллюстрации | Заводской номер детали | Название детали | |
---|---|---|---|
1 | 3***6 | FRONT FRAME | |
2 | 0***5 | Болт | |
3 | 0***9 | Шайба | |
4 | 0***6 | WASHER | |
5 | 1***5 | Палец | |
6 | 3***2 | Shim | |
7 | 1***6 | Палец | |
8 | 1***1 | Блок ограничительный | |
12 | 0***3 | Шайба | |
13 | 0***8 | Болт | |
16 | 0***6 | Шайба | |
17 | 1***7 | Палец | |
20 | 1***8 | Палец | |
21 | 0***9 | GREASE LINES | |
22 | 1***8 | BLOCK | |
23 | 2***5 | COVER PLATE | |
24 | 0***5 | BOLT | |
25 | 1***4 | Ниппель |
Содержащиеся в справочниках-каталогах запасные части и детали не предлагаются к продаже, а носят исключительно информационный характер. В демо-версии артикулы (номера деталей) скрыты. Если вы хотите видеть полные оригинальные номера запчастей, вам необходимо зарегистрироваться на нашем сайте и приобрести подписку по интересующей вас конфигурации, после этого вы сможете встроить онлайн-каталоги на ваш сайт или пользоваться ими из личного кабинета нашего сайта. Обращаем ваше внимание на то, что каталоги содержат информацию об оригинальных заводских номерах и названиях запчастей. База по аналогам в данный момент не реализована. Поиска по VIN-номерам в онлайн-каталоге не предусмотрено. Выбор конкретного каталога осуществляется путем открытия нужного типа техники, марки, модели с учетом года выпуска или модификации.