Каталог запасных частей к технике: LiuGong ZL50C. 22C0005 000 SUPPORT

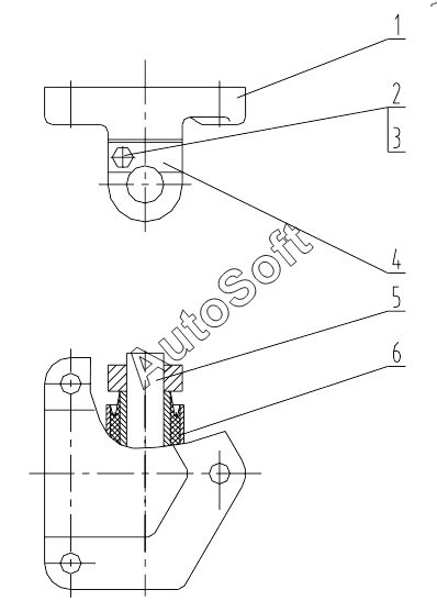
1
2
3
4
5
6
Позиция на иллюстрации | Заводской номер детали | Название детали | |
---|---|---|---|
1 | 7***3 | SUPPORT | |
2 | 0***5 | BOLT | |
3 | 0***6 | Шайба | |
4 | 1***3 | Stop plate | |
5 | 6***5 | Shaft | |
6 | 3***3 | BUSHING |
Содержащиеся в справочниках-каталогах запасные части и детали не предлагаются к продаже, а носят исключительно информационный характер. В демо-версии артикулы (номера деталей) скрыты. Если вы хотите видеть полные оригинальные номера запчастей, вам необходимо зарегистрироваться на нашем сайте и приобрести подписку по интересующей вас конфигурации, после этого вы сможете встроить онлайн-каталоги на ваш сайт или пользоваться ими из личного кабинета нашего сайта. Обращаем ваше внимание на то, что каталоги содержат информацию об оригинальных заводских номерах и названиях запчастей. База по аналогам в данный момент не реализована. Поиска по VIN-номерам в онлайн-каталоге не предусмотрено. Выбор конкретного каталога осуществляется путем открытия нужного типа техники, марки, модели с учетом года выпуска или модификации.