Каталог запасных частей к технике: LiuGong ZL50C. 46C0316 003 FRONT LIGHT WIRING

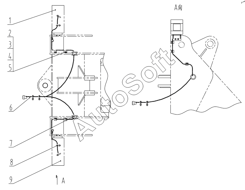
1
2
3
4
5
6
7
8
9
Позиция на иллюстрации | Заводской номер детали | Название детали | |
---|---|---|---|
1 | 4***0 | FRONT FLOODLIGHT-LH | |
2 | 0***6 | Clip | |
3 | 0***6 | NUT | |
4 | 0***3 | Шайба | |
5 | 0***4 | WASHER | |
6 | 0***3 | HARNESS | |
7 | 8***8 | Grommet | |
8 | 3***4 | Хомут | |
9 | 4***9 | FRONT LIGHT-RH |
Содержащиеся в справочниках-каталогах запасные части и детали не предлагаются к продаже, а носят исключительно информационный характер. В демо-версии артикулы (номера деталей) скрыты. Если вы хотите видеть полные оригинальные номера запчастей, вам необходимо зарегистрироваться на нашем сайте и приобрести подписку по интересующей вас конфигурации, после этого вы сможете встроить онлайн-каталоги на ваш сайт или пользоваться ими из личного кабинета нашего сайта. Обращаем ваше внимание на то, что каталоги содержат информацию об оригинальных заводских номерах и названиях запчастей. База по аналогам в данный момент не реализована. Поиска по VIN-номерам в онлайн-каталоге не предусмотрено. Выбор конкретного каталога осуществляется путем открытия нужного типа техники, марки, модели с учетом года выпуска или модификации.