Каталог запасных частей к технике: Komatsu PC300LC-8MO (2010). Me Bucket, (#80517-)
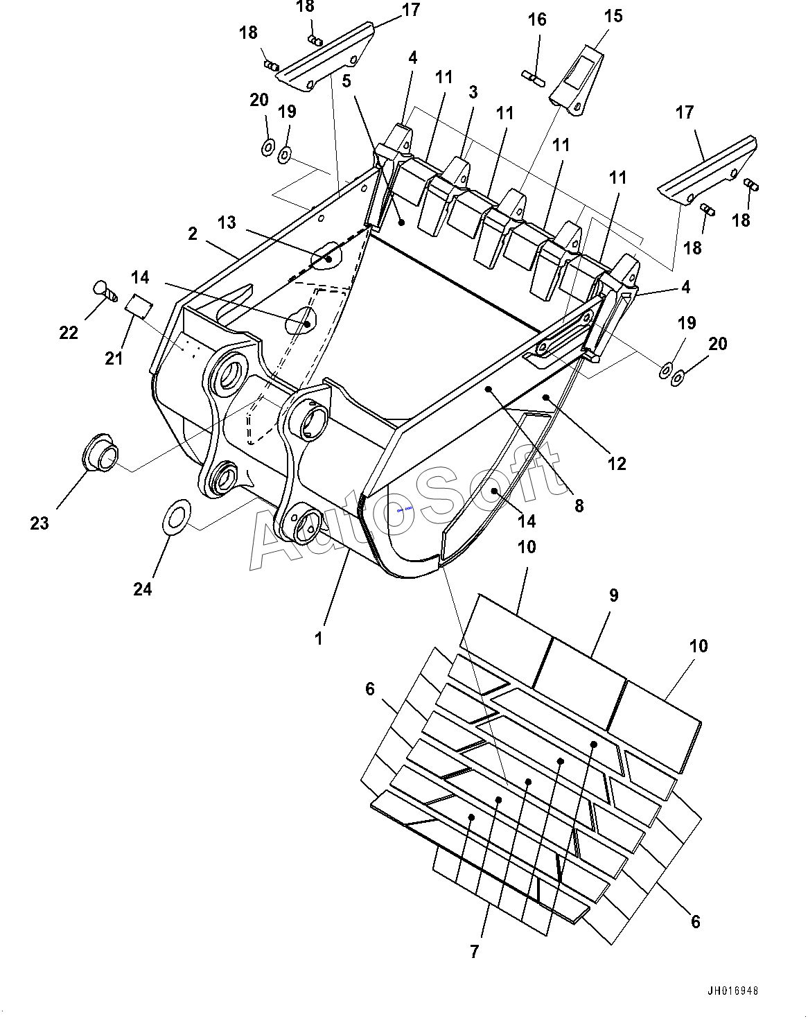
13
24
23
22
21
20
20
19
19
18
18
18
18
17
17
16
15
14
14
1
12
11
11
11
11
10
10
9
8
7
6
6
5
4
4
3
2
| Позиция на иллюстрации | Заводской номер детали | Название детали | |
|---|---|---|---|
| 1 | 7***0 | Bucket | |
| 2 | 7***0 | Plate, Welded | |
| 3 | 2***0 | ADAPTER (WELDED) | |
| 4 | 2***1 | ADAPTER (WELDED) | |
| 5 | 7***0 | Plate, Welded | |
| 6 | 7***0 | Plate, Welded | |
| 7 | 7***0 | Plate, Welded | |
| 8 | 7***0 | Plate, Welded | |
| 9 | 7***0 | Plate, Welded | |
| 10 | 7***0 | Plate, Welded | |
| 11 | 7***0 | Shroud, Welded | |
| 12 | 7***1 | Plate, Welded | |
| 13 | 7***1 | Plate, Welded | |
| 14 | 7***0 | Plate, Welded | |
| 15 | 2***0 | TOOTH | |
| 16 | 0***6 | PIN | |
| 17 | 2***2 | Guard | |
| 18 | 1***0 | PIN | |
| 19 | 2***0 | SHIM, 1.0MM | |
| 20 | 2***0 | SHIM, 0.5MM | |
| 21 | 0***0 | PLATE, NAME | |
| 22 | 0***0 | SCREW | |
| 23 | 2***0 | BUSHING | |
| 24 | 2***0 | SPACER¤ 0.8MM |
Содержащиеся в справочниках-каталогах запасные части и детали не предлагаются к продаже, а носят исключительно информационный характер. В демо-версии артикулы (номера деталей) скрыты. Если вы хотите видеть полные оригинальные номера запчастей, вам необходимо зарегистрироваться на нашем сайте и приобрести подписку по интересующей вас конфигурации, после этого вы сможете встроить онлайн-каталоги на ваш сайт или пользоваться ими из личного кабинета нашего сайта. Обращаем ваше внимание на то, что каталоги содержат информацию об оригинальных заводских номерах и названиях запчастей. База по аналогам в данный момент не реализована. Поиска по VIN-номерам в онлайн-каталоге не предусмотрено. Выбор конкретного каталога осуществляется путем открытия нужного типа техники, марки, модели с учетом года выпуска или модификации.