Каталог запасных частей к технике: Komatsu PC300LC-8MO (2010). Fuel Tank, (#80001-80016)
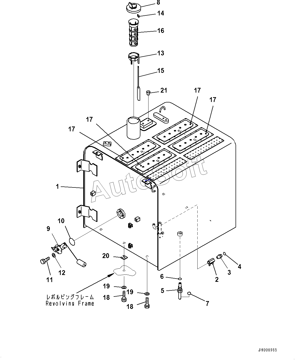
11
21
20
19
19
18
18
17
17
17
17
16
15
14
13
12
1
10
9
8
7
6
5
4
3
2
1
| Позиция на иллюстрации | Заводской номер детали | Название детали | |
|---|---|---|---|
| 20Y-04-11240 | 2***0 | PACKING | |
| 22U-04-21200 | 2***0 | FLOAT ASS'Y | |
| 22U-04-21241 | 2***1 | STRAINER ASS'Y | |
| 1 | 2***1 | Tank | |
| 1 | 2***2 | Tank | |
| 2 | 0***5 | Valve | |
| 3 | 8***1 | CONNECTOR | |
| 4 | 0***2 | O-RING | |
| 5 | 2***0 | Elbow | |
| 6 | 0***4 | O-RING | |
| 7 | 0***9 | O-RING | |
| 8 | 2***1 | CAP | |
| 9 | 7***0 | SENSOR | |
| 10 | 0***0 | O-RING | |
| 11 | 0***2 | BOLT | |
| 12 | 0***3 | WASHER | |
| 13 | 2***0 | GUIDE | |
| 14 | 2***0 | CAP | |
| 15 | 2***0 | FLOAT | |
| 16 | 0***5 | STRAINER | |
| 17 | 2***0 | Plate | |
| 18 | 0***5 | BOLT | |
| 19 | 0***5 | WASHER | |
| 20 | 1***0 | SHIM, 1.0MM | |
| 21 | 0***5 | PLUG |
Содержащиеся в справочниках-каталогах запасные части и детали не предлагаются к продаже, а носят исключительно информационный характер. В демо-версии артикулы (номера деталей) скрыты. Если вы хотите видеть полные оригинальные номера запчастей, вам необходимо зарегистрироваться на нашем сайте и приобрести подписку по интересующей вас конфигурации, после этого вы сможете встроить онлайн-каталоги на ваш сайт или пользоваться ими из личного кабинета нашего сайта. Обращаем ваше внимание на то, что каталоги содержат информацию об оригинальных заводских номерах и названиях запчастей. База по аналогам в данный момент не реализована. Поиска по VIN-номерам в онлайн-каталоге не предусмотрено. Выбор конкретного каталога осуществляется путем открытия нужного типа техники, марки, модели с учетом года выпуска или модификации.