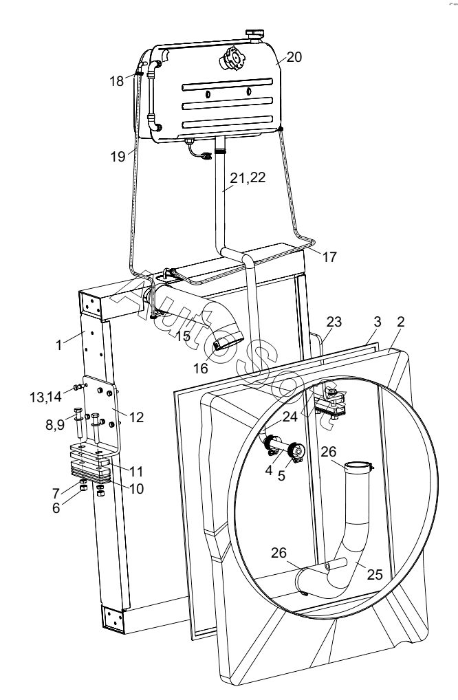
Каталог запасных частей к технике: Zoomlion ZLJ5440JQZV5.3 (2021). СИСТЕМА ОХЛАЖДЕНИЯ D00671651310000000Z

14
26
26
25
24
23
22
21
20
19
18
17
16
15
13
12
11
10
9
8
7
6
5
4
3
2
1
Позиция на иллюстрации | Заводской номер детали | Название детали | |
---|---|---|---|
00671651310000000 | 0***0 | Система охлаждения | |
1 | 1***3 | Радиатор двигателя | |
2 | 0***0 | Кожух направляющий в сборе | |
3 | 1***7 | Rubber sealing strip | |
4 | 0***0 | Шланг бачка | |
5 | 1***8 | Worm clamp | |
6 | 1***6 | Nut | |
7 | 1***8 | Nut | |
8 | 1***9 | Болт M12x75-8.8 | |
9 | 1***1 | Washer | |
10 | 0***0 | Прокладка | |
11 | 0***1 | Прокладка амортизирующая | |
12 | 0***0 | Кронштейн бачка левый | |
13 | 1***8 | Bolt | |
14 | 1***3 | Washer | |
15 | 0***0 | Труба подводящяя бачка | |
16 | 1***9 | T-clamp(no spring) | |
17 | 0***0 | Шланг бачка | |
18 | 1***7 | Worm clamp | |
19 | 0***1 | Шланг бачка | |
20 | 1***8 | Бачок расширительный | |
21 | 0***1 | Шланг бачка | |
22 | 1***0 | Worm clamp | |
23 | 0***0 | Кронштейн бачка правый | |
24 | 0***0 | Three-way elbow | |
25 | 0***0 | Труба отводящая бачка | |
26 | 1***9 | Хомут T-образный | |
27 | 1***9 | Nylon strap | |
28 | 2***8 | 5 in 1 environment-friendly antifreeze |
Содержащиеся в справочниках-каталогах запасные части и детали не предлагаются к продаже, а носят исключительно информационный характер. В демо-версии артикулы (номера деталей) скрыты. Если вы хотите видеть полные оригинальные номера запчастей, вам необходимо зарегистрироваться на нашем сайте и приобрести подписку по интересующей вас конфигурации, после этого вы сможете встроить онлайн-каталоги на ваш сайт или пользоваться ими из личного кабинета нашего сайта. Обращаем ваше внимание на то, что каталоги содержат информацию об оригинальных заводских номерах и названиях запчастей. База по аналогам в данный момент не реализована. Поиска по VIN-номерам в онлайн-каталоге не предусмотрено. Выбор конкретного каталога осуществляется путем открытия нужного типа техники, марки, модели с учетом года выпуска или модификации.