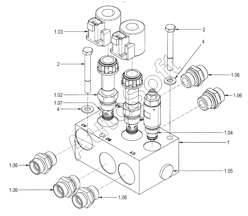
Каталог запасных частей к технике: Ammann AV 16-2K (2009). ESL 05-030 AV1-2 Vibration valve AV1-2
1
1.02
1.03
1.04
1.05
1.06
1.06
1.06
1.06
1.06
1.07
2
2
4
4
| Позиция на иллюстрации | Заводской номер детали | Название детали | |
|---|---|---|---|
| 1 | 1***6 | Vibration switch valve | |
| 1.02 | 1***0 | Valve cartnge | |
| 1.03 | 1***8 | Magnet coil | |
| 1.04 | 1***6 | Pressure limiting valve | |
| 1.05 | 1***9 | Nonreturn valve | |
| 1.06 | 1***5 | Screwed socket | |
| 1.07 | 1***4 | Nonreturn valve | |
| 2 | 1***5 | Hexagon head screw | |
| 4 | J***3 | Washer |
Содержащиеся в справочниках-каталогах запасные части и детали не предлагаются к продаже, а носят исключительно информационный характер. В демо-версии артикулы (номера деталей) скрыты. Если вы хотите видеть полные оригинальные номера запчастей, вам необходимо зарегистрироваться на нашем сайте и приобрести подписку по интересующей вас конфигурации, после этого вы сможете встроить онлайн-каталоги на ваш сайт или пользоваться ими из личного кабинета нашего сайта. Обращаем ваше внимание на то, что каталоги содержат информацию об оригинальных заводских номерах и названиях запчастей. База по аналогам в данный момент не реализована. Поиска по VIN-номерам в онлайн-каталоге не предусмотрено. Выбор конкретного каталога осуществляется путем открытия нужного типа техники, марки, модели с учетом года выпуска или модификации.