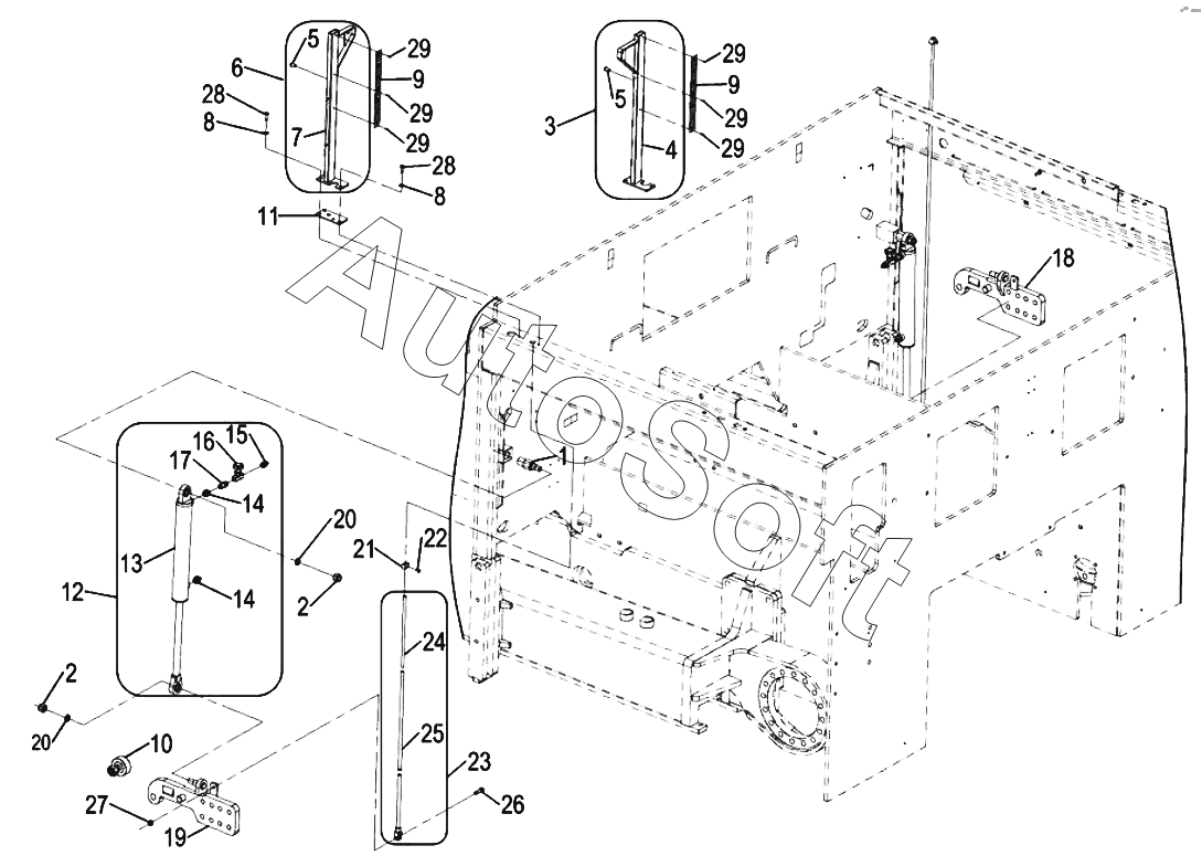
Каталог запасных частей к технике: Ammann AFT 500 (2018). Position indicator assembly

15
29
29
29
29
29
29
28
28
27
26
25
24
23
22
21
20
20
19
18
17
16
14
14
13
12
11
10
9
9
8
8
7
6
5
5
4
3
2
2
1
Позиция на иллюстрации | Заводской номер детали | Название детали | |
---|---|---|---|
1505359 | 1***9 | Position indicator assembly | |
1 | 5***7 | Straight pin | |
2 | 1***1 | Hexagon nut | |
3 | 1***6 | Fixture displays fitting right | |
4 | 1***7 | Fixture displays support RH | |
5 | 1***9 | Blind rivet nut | |
6 | 1***8 | Fixture displays fitting left | |
7 | 1***9 | Fixture displays support LH | |
8 | 1***1 | Spring washer | |
9 | 5***7 | Plate scale | |
10 | 5***3 | Pin | |
11 | 5***2 | Spacer | |
12 | 5***1 | Hydraulic cylinder Assy | |
13 | 5***1 | Hydraulic cylinder | |
14 | 5***4 | Connector | |
15 | 5***3 | Connector | |
16 | 5***1 | Hydraulic block | |
17 | 5***6 | Connector | |
18 | 1***1 | Connecting rod toe arm right | |
19 | 1***0 | Connecting rod toe arm left | |
20 | 5***0 | Washer | |
21 | 5***3 | Round | |
22 | 1***0 | Hex screw | |
23 | 1***1 | Rod | |
24 | 1***9 | Pipe | |
25 | 1***0 | Round | |
26 | 1***5 | Hex screw | |
27 | 1***2 | Hexagon nut | |
28 | 1***0 | Hex screw | |
29 | 5***0 | Blind rivet |
Содержащиеся в справочниках-каталогах запасные части и детали не предлагаются к продаже, а носят исключительно информационный характер. В демо-версии артикулы (номера деталей) скрыты. Если вы хотите видеть полные оригинальные номера запчастей, вам необходимо зарегистрироваться на нашем сайте и приобрести подписку по интересующей вас конфигурации, после этого вы сможете встроить онлайн-каталоги на ваш сайт или пользоваться ими из личного кабинета нашего сайта. Обращаем ваше внимание на то, что каталоги содержат информацию об оригинальных заводских номерах и названиях запчастей. База по аналогам в данный момент не реализована. Поиска по VIN-номерам в онлайн-каталоге не предусмотрено. Выбор конкретного каталога осуществляется путем открытия нужного типа техники, марки, модели с учетом года выпуска или модификации.