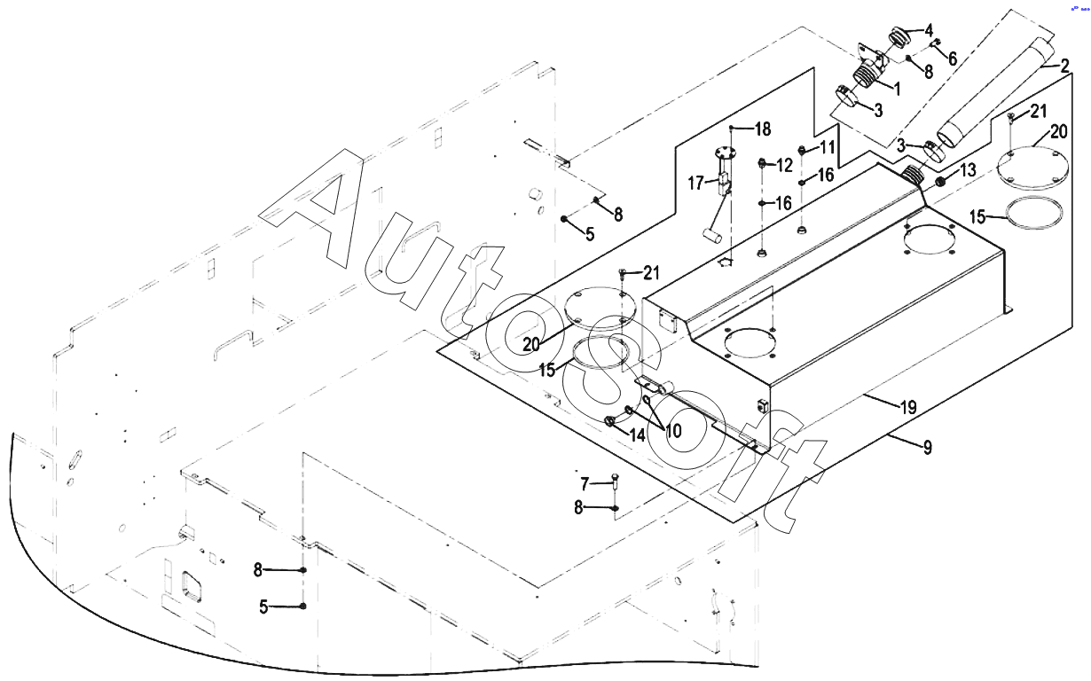
Каталог запасных частей к технике: Ammann AFT 500 (2018). Fuel tank assly

11
21
21
20
20
19
18
17
16
16
15
15
14
13
12
10
9
8
8
8
8
7
6
5
5
4
3
3
2
1
Позиция на иллюстрации | Заводской номер детали | Название детали | |
---|---|---|---|
1471469 | 1***9 | Fuel tank Assy | |
1 | 1***4 | Filler neck fuel tank | |
2 | 5***B | Hose | |
3 | 5***3 | Hose clip | |
4 | 1***1 | Diesel tank cap with lock | |
5 | 1***2 | Hexagon nut | |
6 | 1***1 | Hex screw | |
7 | 1***6 | Hex screw | |
8 | 1***3 | Washer | |
9 | 1***0 | Fuel tank Assy | |
10 | J***3 | Sealing ring | |
11 | 5***1 | Connector | |
12 | 5***8 | Screwed connection | |
13 | 5***2 | Filling level indicator | |
14 | 5***3 | Sealing plug | |
15 | 1***5 | O-ring | |
16 | 1***6 | Washer copper | |
17 | 5***4 | Float | |
18 | 1***9 | Hex screw | |
19 | 1***1 | Fuel tank | |
20 | 1***9 | Cover | |
21 | 1***7 | Countersunk screw |
Содержащиеся в справочниках-каталогах запасные части и детали не предлагаются к продаже, а носят исключительно информационный характер. В демо-версии артикулы (номера деталей) скрыты. Если вы хотите видеть полные оригинальные номера запчастей, вам необходимо зарегистрироваться на нашем сайте и приобрести подписку по интересующей вас конфигурации, после этого вы сможете встроить онлайн-каталоги на ваш сайт или пользоваться ими из личного кабинета нашего сайта. Обращаем ваше внимание на то, что каталоги содержат информацию об оригинальных заводских номерах и названиях запчастей. База по аналогам в данный момент не реализована. Поиска по VIN-номерам в онлайн-каталоге не предусмотрено. Выбор конкретного каталога осуществляется путем открытия нужного типа техники, марки, модели с учетом года выпуска или модификации.