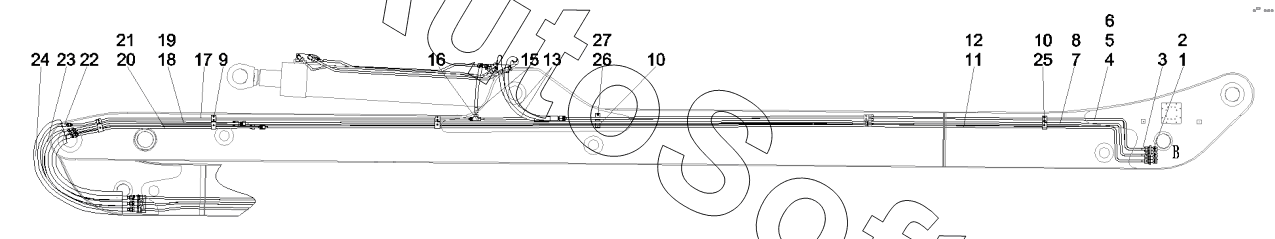
Каталог запасных частей к технике: SANY SYG5271THB 38. 12919990 Hydraulic system, boom, 2

15
27
26
25
24
23
22
21
20
19
18
17
16
1
13
12
11
10
10
9
8
7
6
5
4
3
2
Позиция на иллюстрации | Заводской номер детали | Название детали | |
---|---|---|---|
1 | B***7 | Connector, pipe | |
2 | 6***7 | Connector, pipe | |
3 | 1***9 | Plate, connector, nine-hole | |
4 | 1***6 | Pipe, oil | |
5 | 1***9 | Pipe, oil | |
6 | 1***4 | Pipe, oil | |
7 | 1***6 | Pipe, oil | |
8 | 1***2 | Pipe, oil | |
9 | 6***2 | Body, clamp | |
10 | 6***2 | Clamp, duplex | |
11 | 1***4 | Pipe, oil | |
12 | 1***6 | Pipe, oil | |
13 | 1***4 | Hose, rubber | |
15 | B***1 | Hose, rubber | |
16 | B***5 | Connector, hose, EL10LOMDA3C | |
17 | 1***9 | Pipe, oil | |
18 | 1***1 | Pipe, oil | |
19 | 1***3 | Pipe, oil | |
20 | 1***7 | Pipe, oil | |
21 | 1***9 | Pipe, oil | |
22 | 6***1 | Hose, rubber | |
23 | B***9 | Hose, rubber | |
24 | 6***6 | Sleeve, protective, rubber hose 10 | |
25 | 6***7 | Plate, cover, clamp | |
26 | 6***0 | Clamp, single pipe | |
27 | 6***5 | Plate, cover, clamp |
Содержащиеся в справочниках-каталогах запасные части и детали не предлагаются к продаже, а носят исключительно информационный характер. В демо-версии артикулы (номера деталей) скрыты. Если вы хотите видеть полные оригинальные номера запчастей, вам необходимо зарегистрироваться на нашем сайте и приобрести подписку по интересующей вас конфигурации, после этого вы сможете встроить онлайн-каталоги на ваш сайт или пользоваться ими из личного кабинета нашего сайта. Обращаем ваше внимание на то, что каталоги содержат информацию об оригинальных заводских номерах и названиях запчастей. База по аналогам в данный момент не реализована. Поиска по VIN-номерам в онлайн-каталоге не предусмотрено. Выбор конкретного каталога осуществляется путем открытия нужного типа техники, марки, модели с учетом года выпуска или модификации.