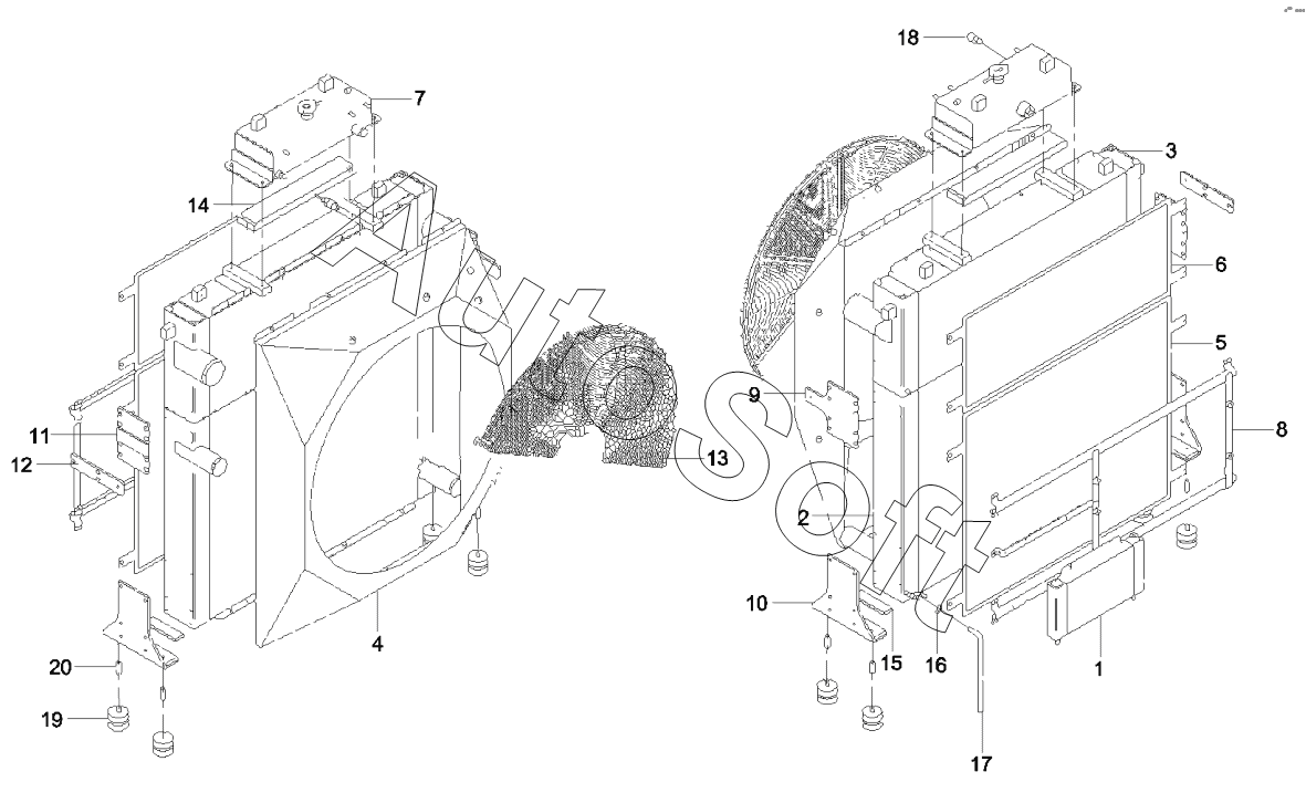
Каталог запасных частей к технике: SANY SY750C1. 60309897 Radiator

11
20
19
18
17
16
15
14
13
12
1
10
9
8
7
6
5
4
3
2
Позиция на иллюстрации | Заводской номер детали | Название детали | |
---|---|---|---|
1 | 6***6 | Fuel cooler | |
2 | 6***7 | Rad | |
3 | 6***0 | Cac | |
4 | 6***1 | Shroud | |
5 | 6***4 | Net | |
6 | 6***5 | Net | |
7 | 6***8 | Expansion tank | |
8 | 6***9 | Bracket | |
9 | 6***2 | Bracket | |
10 | 6***3 | Bracket | |
11 | 6***6 | Bracket | |
12 | 6***7 | Bracket | |
13 | 6***0 | Finger guard | |
14 | 6***1 | Sponge | |
15 | 6***4 | Sponge | |
16 | 6***5 | Spring band clamp | |
17 | 6***8 | Hose | |
18 | 6***9 | Water level sensor | |
19 | 6***2 | Rubber buffer | |
20 | 6***3 | Bushing |
Содержащиеся в справочниках-каталогах запасные части и детали не предлагаются к продаже, а носят исключительно информационный характер. В демо-версии артикулы (номера деталей) скрыты. Если вы хотите видеть полные оригинальные номера запчастей, вам необходимо зарегистрироваться на нашем сайте и приобрести подписку по интересующей вас конфигурации, после этого вы сможете встроить онлайн-каталоги на ваш сайт или пользоваться ими из личного кабинета нашего сайта. Обращаем ваше внимание на то, что каталоги содержат информацию об оригинальных заводских номерах и названиях запчастей. База по аналогам в данный момент не реализована. Поиска по VIN-номерам в онлайн-каталоге не предусмотрено. Выбор конкретного каталога осуществляется путем открытия нужного типа техники, марки, модели с учетом года выпуска или модификации.