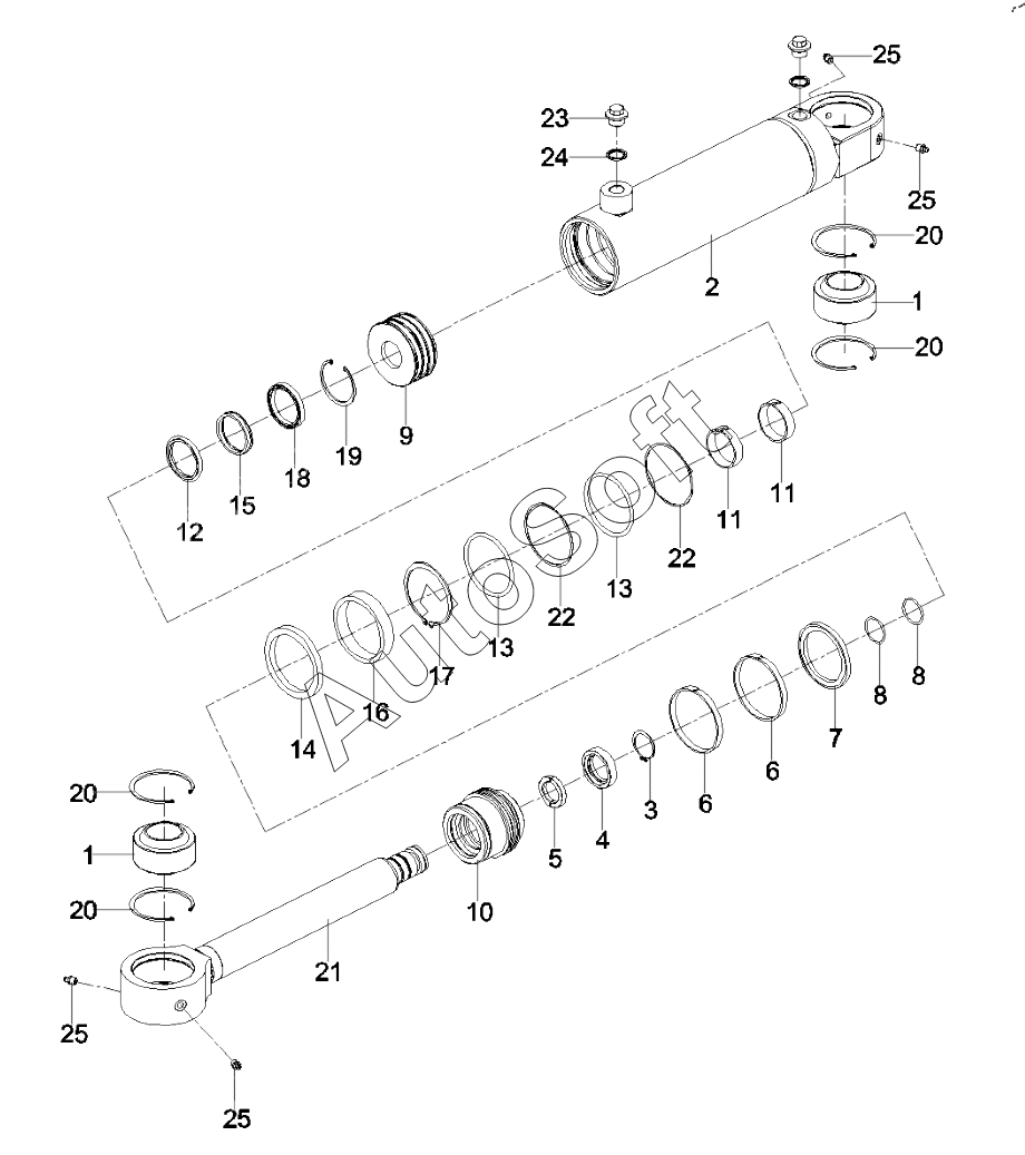
Каталог запасных частей к технике: SANY SSR120AC-8 (2022). A810201064605 Steering Cylinder

13
13
25
25
25
25
24
23
22
22
21
20
20
20
20
19
18
17
16
15
14
1
1
12
11
11
10
9
8
8
7
6
6
5
4
3
2
Позиция на иллюстрации | Заводской номер детали | Название детали | |
---|---|---|---|
1 | B***9 | Joint bearing | |
2 | A***5 | Cylinder Barrel Group | |
3 | A***9 | Ring, retainer | |
4 | 1***0 | Lock nut cap | |
5 | 1***1 | Clipping key | |
6 | A***2 | Backup Ring | |
7 | B***5 | Seal | |
8 | A***7 | O-ring | |
9 | A***2 | Piston | |
10 | A***7 | Sleeve Guide | |
11 | B***7 | Backup Ring | |
12 | 1***6 | Sealing ring | |
13 | B***3 | O-ring | |
14 | A***1 | Lock Nut | |
15 | B***1 | Ring, seal, MPS-type | |
16 | A***5 | Sleeve | |
17 | A***5 | Ring, Snap | |
18 | B***4 | Seal Dust | |
19 | A***2 | Retainer ring 68GB893.1 | |
20 | A***4 | Ring, retainer | |
21 | 1***1 | Piston rod assem | |
22 | B***4 | Snap Ring | |
23 | 1***5 | Screw plug | |
24 | A***1 | Washer | |
25 | A***2 | Cup, oil |
Содержащиеся в справочниках-каталогах запасные части и детали не предлагаются к продаже, а носят исключительно информационный характер. В демо-версии артикулы (номера деталей) скрыты. Если вы хотите видеть полные оригинальные номера запчастей, вам необходимо зарегистрироваться на нашем сайте и приобрести подписку по интересующей вас конфигурации, после этого вы сможете встроить онлайн-каталоги на ваш сайт или пользоваться ими из личного кабинета нашего сайта. Обращаем ваше внимание на то, что каталоги содержат информацию об оригинальных заводских номерах и названиях запчастей. База по аналогам в данный момент не реализована. Поиска по VIN-номерам в онлайн-каталоге не предусмотрено. Выбор конкретного каталога осуществляется путем открытия нужного типа техники, марки, модели с учетом года выпуска или модификации.