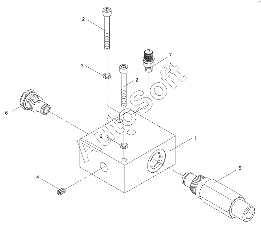
Каталог запасных частей к технике: SANY SYG5271THB 37D. A810201025057 Water-proof Valve Group C12045.6.6.31D

1
2
2
3
3
4
5
6
7
Позиция на иллюстрации | Заводской номер детали | Название детали | |
---|---|---|---|
1 | A***9 | Water-proof valve block | |
2 | A***7 | Screw | |
3 | A***6 | Washer | |
4 | A***5 | Screw | |
5 | B***9 | Valve, relief | |
6 | B***2 | Valve, one-way | |
7 | B***9 | Connector, pressure measuring, SKK20-M12x1.5-PC |
Содержащиеся в справочниках-каталогах запасные части и детали не предлагаются к продаже, а носят исключительно информационный характер. В демо-версии артикулы (номера деталей) скрыты. Если вы хотите видеть полные оригинальные номера запчастей, вам необходимо зарегистрироваться на нашем сайте и приобрести подписку по интересующей вас конфигурации, после этого вы сможете встроить онлайн-каталоги на ваш сайт или пользоваться ими из личного кабинета нашего сайта. Обращаем ваше внимание на то, что каталоги содержат информацию об оригинальных заводских номерах и названиях запчастей. База по аналогам в данный момент не реализована. Поиска по VIN-номерам в онлайн-каталоге не предусмотрено. Выбор конкретного каталога осуществляется путем открытия нужного типа техники, марки, модели с учетом года выпуска или модификации.