Каталог запасных частей к технике: ЧТЗ Бульдозер Б11 (2010). Опора
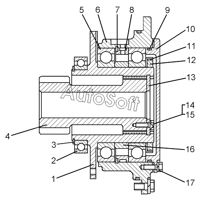
10
17
16
15
14
13
12
11
9
8
7
6
5
4
3
2
1
| Позиция на иллюстрации | Заводской номер детали | Название детали | |
|---|---|---|---|
| 64-19-117СП | 6***П | Опора | |
| 1 | 6***3 | Ступица | |
| 2 | 1***2 | Подшипник | |
| 3 | 7***3 | Кольцо В160 | |
| 4 | 6***8 | Шестерня центральная | |
| 5 | 1***4 | Подшипник | |
| 6 | 6***5 | Опора | |
| 7 | 7***8 | Кольцо В260 | |
| 8 | 6***7 | Втулка | |
| 9 | 7***6 | Кольцо | |
| 10 | 6***3 | Крышка | |
| 10 | 6***5 | Крышка | |
| 11 | 7***0 | Шайба стопорная | |
| 12 | 7***3 | Гайка | |
| 13 | 6***4 | Шайба зубчатая | |
| 14 | 2***8 | Болт | |
| 15 | 7***3 | Шайба замковая | |
| 15 | 7***1 | Шайба замковая | |
| 16 | 6***6 | Втулка | |
| 17 | Ш***9 | Шайба 12.ОТ.65Г.09 |
Содержащиеся в справочниках-каталогах запасные части и детали не предлагаются к продаже, а носят исключительно информационный характер. В демо-версии артикулы (номера деталей) скрыты. Если вы хотите видеть полные оригинальные номера запчастей, вам необходимо зарегистрироваться на нашем сайте и приобрести подписку по интересующей вас конфигурации, после этого вы сможете встроить онлайн-каталоги на ваш сайт или пользоваться ими из личного кабинета нашего сайта. Обращаем ваше внимание на то, что каталоги содержат информацию об оригинальных заводских номерах и названиях запчастей. База по аналогам в данный момент не реализована. Поиска по VIN-номерам в онлайн-каталоге не предусмотрено. Выбор конкретного каталога осуществляется путем открытия нужного типа техники, марки, модели с учетом года выпуска или модификации.