Каталог запасных частей к технике: SEM822D (2019). Adapter Gp-Left Drive Motor

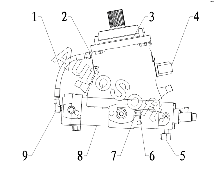
1
2
3
4
5
6
7
8
9
Позиция на иллюстрации | Заводской номер детали | Название детали | |
---|---|---|---|
1 | 5***2 | Hose As | |
2 | 5***9 | Transition Adapter | |
3 | 5***7 | O Ring | |
4 | 5***9 | Elbow | |
5 | 1***8 | Adapter Asm | |
6 | 6***2 | The Dust Cap | |
7 | 1***7 | Adapter | |
8 | 5***0 | Motor Gp-Drive | |
9 | 5***4 | Adapter |
Содержащиеся в справочниках-каталогах запасные части и детали не предлагаются к продаже, а носят исключительно информационный характер. В демо-версии артикулы (номера деталей) скрыты. Если вы хотите видеть полные оригинальные номера запчастей, вам необходимо зарегистрироваться на нашем сайте и приобрести подписку по интересующей вас конфигурации, после этого вы сможете встроить онлайн-каталоги на ваш сайт или пользоваться ими из личного кабинета нашего сайта. Обращаем ваше внимание на то, что каталоги содержат информацию об оригинальных заводских номерах и названиях запчастей. База по аналогам в данный момент не реализована. Поиска по VIN-номерам в онлайн-каталоге не предусмотрено. Выбор конкретного каталога осуществляется путем открытия нужного типа техники, марки, модели с учетом года выпуска или модификации.