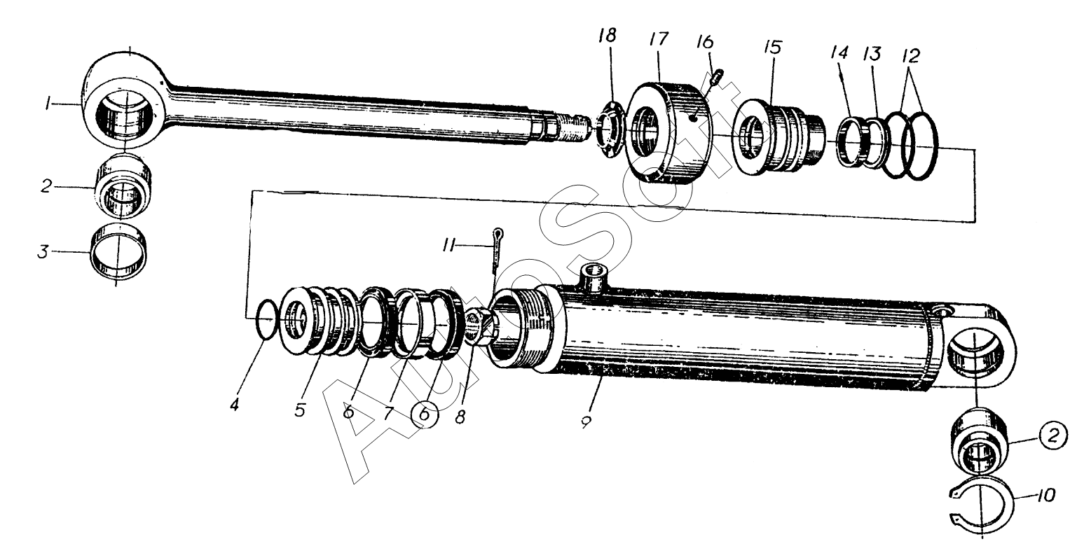
Каталог запасных частей к технике: SEM618B (2019). Steering cylinder

10
18
17
16
15
14
13
12
11
1
9
8
7
6
6
5
4
3
2
2
Позиция на иллюстрации | Заводской номер детали | Название детали | |
---|---|---|---|
W050200010 | W***0 | Steering cylinder sealing | |
1 | W***0 | Piston rod | |
2 | B***2 | Bearing | |
3 | S***p | Snap | |
4 | S***g | Seal ring | |
5 | W***0 | Piston | |
6 | S***g | Seal ring | |
7 | G***g | Guide ring | |
8 | N***t | Nut | |
9 | W***0 | Body | |
10 | S***g | Snap ring | |
11 | P***n | Pin | |
12 | O***g | O ring | |
13 | S***g | Seal ring | |
14 | G***g | Guide ring | |
15 | W***0 | Guide sleeve | |
16 | B***t | Bolt | |
17 | W***0 | Cover | |
18 | D***t | Dust |
Содержащиеся в справочниках-каталогах запасные части и детали не предлагаются к продаже, а носят исключительно информационный характер. В демо-версии артикулы (номера деталей) скрыты. Если вы хотите видеть полные оригинальные номера запчастей, вам необходимо зарегистрироваться на нашем сайте и приобрести подписку по интересующей вас конфигурации, после этого вы сможете встроить онлайн-каталоги на ваш сайт или пользоваться ими из личного кабинета нашего сайта. Обращаем ваше внимание на то, что каталоги содержат информацию об оригинальных заводских номерах и названиях запчастей. База по аналогам в данный момент не реализована. Поиска по VIN-номерам в онлайн-каталоге не предусмотрено. Выбор конкретного каталога осуществляется путем открытия нужного типа техники, марки, модели с учетом года выпуска или модификации.