Каталог запасных частей к технике: BOMAG BW216D-40 (2007). FS10-Railing

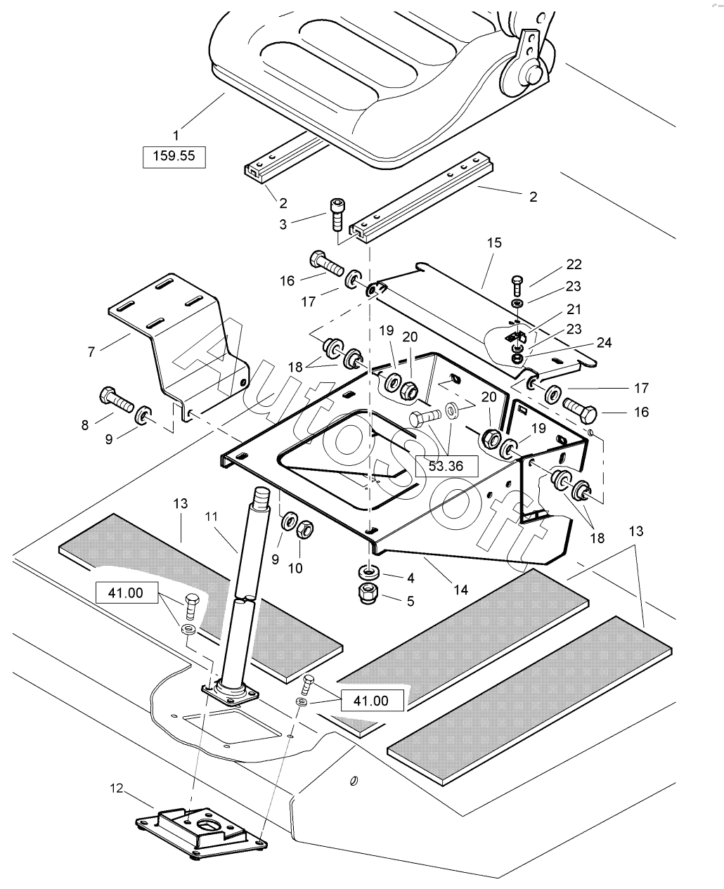
13
13
24
23
23
22
21
20
20
19
19
18
18
17
17
16
16
15
14
1
12
11
10
9
9
8
7
5
4
3
2
2
Позиция на иллюстрации | Заводской номер детали | Название детали | |
---|---|---|---|
1 | 0***6 | Operator’s seat | |
2 | 0***7 | Seat rail,lower part | |
3 | 0***1 | Socket-head cap screw | |
4 | 0***7 | Washer | |
5 | 0***3 | Safety nut | |
7 | 5***7 | Holder | |
8 | 0***7 | Hexagon bolt | |
9 | 0***6 | Spring washer | |
10 | 0***6 | Hexagon nut | |
11 | 0***4 | Steering column | |
12 | 5***1 | Holder | |
13 | 0***6 | Anti-skid coating | |
14 | 5***2 | Seat console | |
15 | 5***1 | Cover | |
16 | 0***2 | Hexagon bolt | |
17 | 0***4 | Spring washer | |
18 | 0***8 | Bushing | |
19 | 0***4 | Spring washer | |
20 | 0***3 | Safety nut | |
21 | 6***4 | Spring | |
22 | 0***0 | Hexagon bolt | |
23 | 0***3 | Spring washer | |
24 | 0***8 | Safety nut |
Содержащиеся в справочниках-каталогах запасные части и детали не предлагаются к продаже, а носят исключительно информационный характер. В демо-версии артикулы (номера деталей) скрыты. Если вы хотите видеть полные оригинальные номера запчастей, вам необходимо зарегистрироваться на нашем сайте и приобрести подписку по интересующей вас конфигурации, после этого вы сможете встроить онлайн-каталоги на ваш сайт или пользоваться ими из личного кабинета нашего сайта. Обращаем ваше внимание на то, что каталоги содержат информацию об оригинальных заводских номерах и названиях запчастей. База по аналогам в данный момент не реализована. Поиска по VIN-номерам в онлайн-каталоге не предусмотрено. Выбор конкретного каталога осуществляется путем открытия нужного типа техники, марки, модели с учетом года выпуска или модификации.