Каталог запасных частей к технике: HAMM GRW 24. ELECTRICAL SYSTEM (WITH LIGHTING)
63
40
41
41
43
44
44
45
45
46
46
47
47
48
48
50
51
52
60
61
62
39
64
65
67
70
71
72
77
77
77
78
80
81
82
87
88
19
2
3
4
5
6
7
8
10
11
12
13
14
17
18
18
18
18
18
1
20
22
23
24
26
29
30
31
32
35
36
36
36
37
37
38
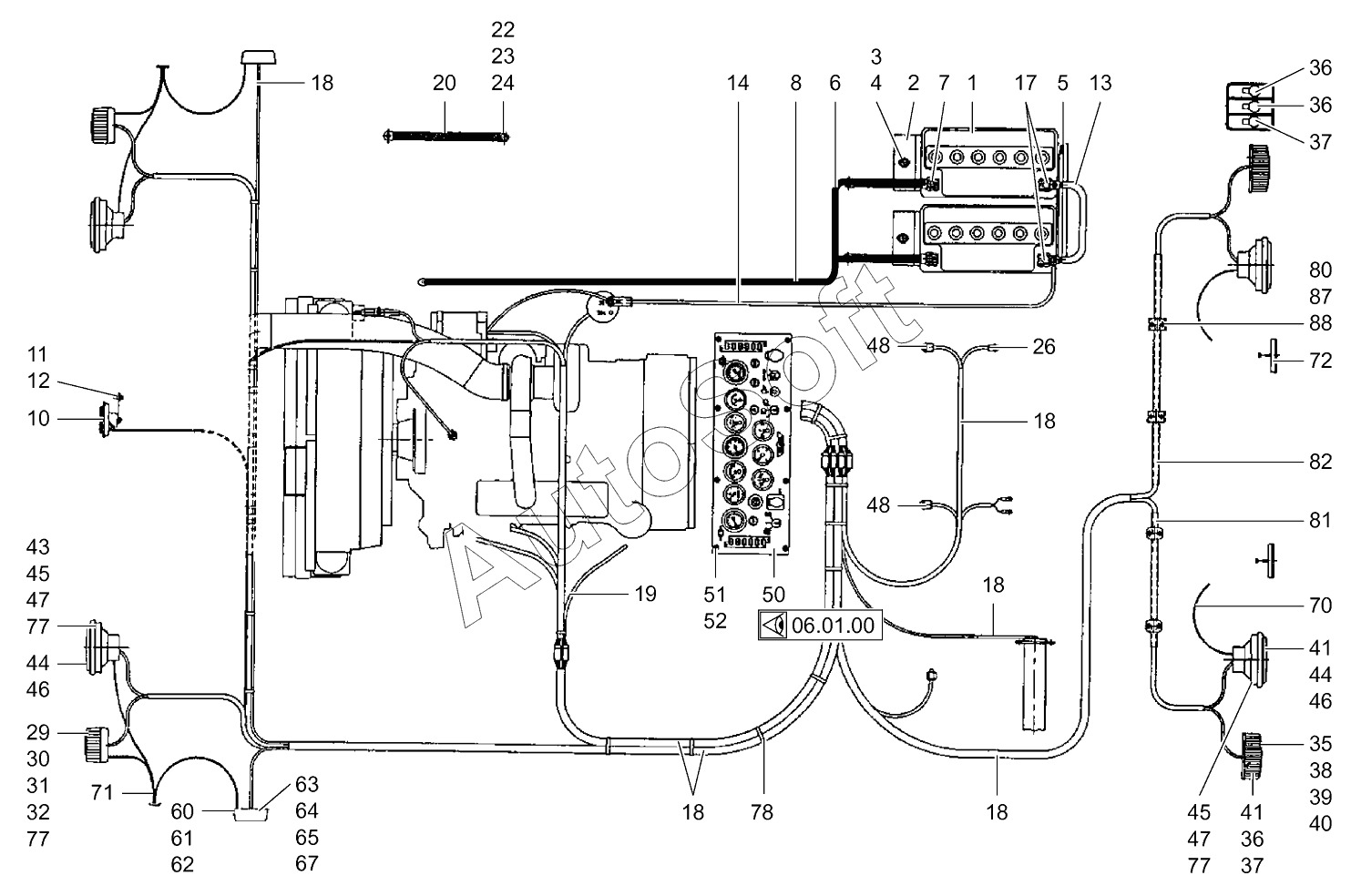
| Позиция на иллюстрации | Заводской номер детали | Название детали | |
|---|---|---|---|
| 1 | 2***2 | BATTERY 12V 88AH | |
| 2 | 1***2 | HOLDER | |
| 3 | 2***8 | HEXAGON SCREW | |
| 4 | 3***0 | WASHER | |
| 5 | 2***6 | EDGE PROTECTION | |
| 6 | 7***8 | BATTERY CABLE | |
| 7 | 3***0 | BATTERY TERMINAL NEGATIVE | |
| 8 | 8***8 | BATTERY CABLE | |
| 10 | 2***5 | SIGNAL HORN | |
| 11 | 2***9 | HEXAGON SCREW | |
| 12 | 2***2 | LOCKING WASHER | |
| 13 | 7***8 | BATTERY CABLE | |
| 14 | 8***2 | BATTERY CABLE | |
| 17 | 2***1 | BATTERY TERMINAL POSITIVE | |
| 18 | 8***1 | MAIN WIRE HARNESS | |
| 19 | 8***3 | CABLE HARNESS | |
| 20 | 2***2 | GROUND CABLE | |
| 22 | 2***1 | HEXAGON SCREW | |
| 23 | 2***3 | SPRING RING | |
| 24 | 2***7 | HEXAGONAL NUT | |
| 26 | 3***5 | CONNECTION PLUG | |
| 29 | 3***5 | INDICATOR LAMP | |
| 30 | 2***0 | LAMP | |
| 31 | 3***4 | FILLISTER HEAD SCREW | |
| 32 | 2***4 | HEXAGONAL NUT | |
| 35 | 2***6 | BACK-UP LIGHT | |
| 36 | 2***0 | LAMP | |
| 37 | 2***2 | LAMP | |
| 38 | 2***9 | FILLISTER HEAD SCREW | |
| 39 | 3***9 | SERRATED LOCK WASHER | |
| 40 | 2***4 | HEXAGONAL NUT | |
| 41 | 2***4 | FLAT PLUG SLEEVE | |
| 43 | 2***5 | LAMP | |
| 44 | 3***7 | HEADLIGHT | |
| 45 | 2***5 | LAMP | |
| 46 | 3***5 | RAISED COUNTERSUNK HEAD SCREW | |
| 47 | 2***1 | PLUG | |
| 48 | 2***0 | PUSH BUTTON | |
| 50 | 8***8 | INSTRUMENT PANEL COMPL. | |
| 51 | 2***0 | FILLISTER HEAD SCREW | |
| 52 | 2***2 | WASHER | |
| 60 | 3***2 | SIDE LAMP | |
| 61 | 3***2 | FILLISTER HEAD SCREW | |
| 62 | 2***6 | WASHER | |
| 63 | 2***5 | CABLE LUG | |
| 64 | 2***4 | FLAT PLUG SLEEVE | |
| 65 | 2***5 | LAMP | |
| 67 | 8***7 | CABLE | |
| 70 | 7***4 | CABLE HARNESS | |
| 71 | 7***0 | GROUND CABLE | |
| 72 | 2***4 | REAR REFLECTOR | |
| 77 | 3***7 | WIRE FASTENER | |
| 78 | 2***1 | WIRE FASTENER | |
| 80 | 3***8 | HALF-CLIP | |
| 81 | 6***6 | PIPE | |
| 82 | 6***4 | PIPE | |
| 87 | 3***3 | TOP COVER | |
| 88 | 2***2 | HEXAGON SCREW |
Содержащиеся в справочниках-каталогах запасные части и детали не предлагаются к продаже, а носят исключительно информационный характер. В демо-версии артикулы (номера деталей) скрыты. Если вы хотите видеть полные оригинальные номера запчастей, вам необходимо зарегистрироваться на нашем сайте и приобрести подписку по интересующей вас конфигурации, после этого вы сможете встроить онлайн-каталоги на ваш сайт или пользоваться ими из личного кабинета нашего сайта. Обращаем ваше внимание на то, что каталоги содержат информацию об оригинальных заводских номерах и названиях запчастей. База по аналогам в данный момент не реализована. Поиска по VIN-номерам в онлайн-каталоге не предусмотрено. Выбор конкретного каталога осуществляется путем открытия нужного типа техники, марки, модели с учетом года выпуска или модификации.