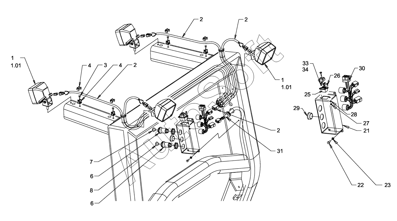
Каталог запасных частей к технике: HAMM 3412 (2019). ADDITIONAL LIGHTING, ROPS

1
1
1.01
1.01
2
2
2
2
3
4
4
6
6
7
8
21
22
23
25
26
27
28
29
30
31
33
34
Позиция на иллюстрации | Заводской номер детали | Название детали | |
---|---|---|---|
1 | 1***9 | WORKING LIGHT | |
1.01 | 3***8 | LAMP | |
2 | 8***9 | CABLE HARNESS | |
21 | 1***6 | HOLDER SYSTEM | |
22 | 2***8 | HEXAGON SCREW | |
23 | 2***7 | WASHER | |
25 | 1***5 | FUSE SOCKET | |
26 | 3***2 | FILLISTER HEAD SCREW | |
27 | 1***2 | HEXAGONAL NUT | |
28 | 3***2 | SERRATED LOCK WASHER | |
29 | 3***4 | FILLER CAP | |
3 | 3***0 | FILLISTER HEAD SCREW | |
30 | 8***7 | CABLE HARNESS | |
31 | 8***0 | CABLE HARNESS | |
33 | 3***4 | BLADE-TYPE FUSE 10A | |
34 | 3***2 | BLADE-TYPE FUSE 15A | |
4 | 1***5 | SYSTEM CLIP | |
6 | 3***9 | PUSH BUTTON SWITCH | |
7 | 3***7 | CONTROL BUTTON | |
8 | 3***5 | CONTROL BUTTON |
Содержащиеся в справочниках-каталогах запасные части и детали не предлагаются к продаже, а носят исключительно информационный характер. В демо-версии артикулы (номера деталей) скрыты. Если вы хотите видеть полные оригинальные номера запчастей, вам необходимо зарегистрироваться на нашем сайте и приобрести подписку по интересующей вас конфигурации, после этого вы сможете встроить онлайн-каталоги на ваш сайт или пользоваться ими из личного кабинета нашего сайта. Обращаем ваше внимание на то, что каталоги содержат информацию об оригинальных заводских номерах и названиях запчастей. База по аналогам в данный момент не реализована. Поиска по VIN-номерам в онлайн-каталоге не предусмотрено. Выбор конкретного каталога осуществляется путем открытия нужного типа техники, марки, модели с учетом года выпуска или модификации.