Каталог запасных частей к технике: HAMM 3412 (2019). HEATING AND AIR CONDITIONING

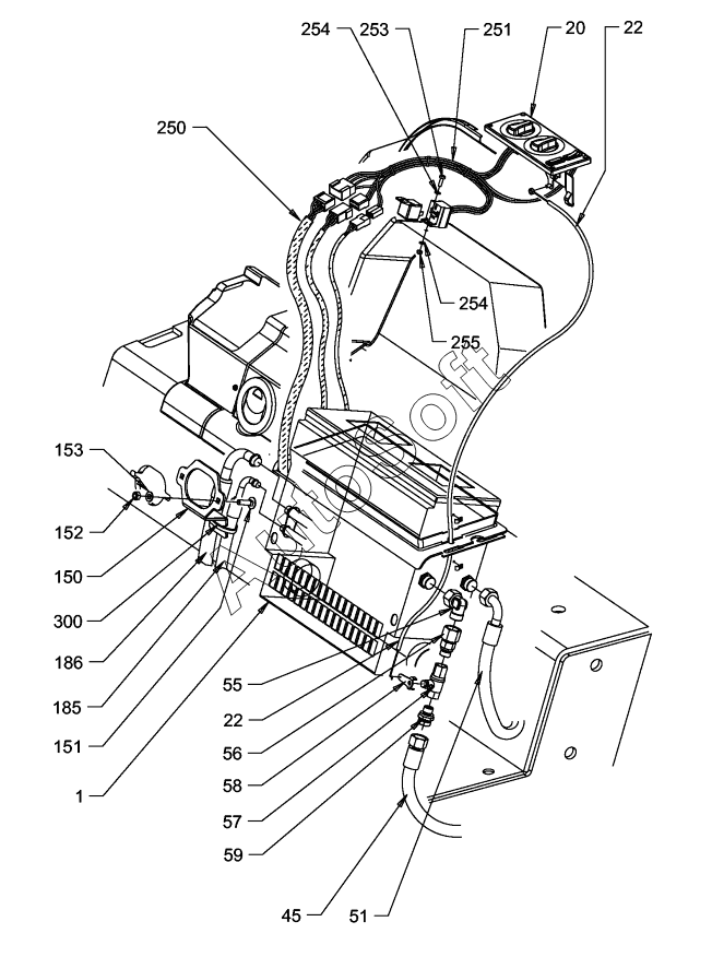
151
300
255
254
254
253
251
250
186
185
153
152
1
150
59
58
57
56
55
51
45
22
22
20
Позиция на иллюстрации | Заводской номер детали | Название детали | |
---|---|---|---|
1 | 1***0 | AIR CONDITION UNIT COMPL., POS. 1.01-1.06 | |
20 | 1***0 | CONTROL MODULE | |
22 | 1***5 | BOWDEN CABLE | |
45 | 1***5 | HOSE | |
51 | 1***7 | HOSE | |
55 | 3***7 | ELBOW ADJUSTABLE | |
56 | 1***2 | STRAIGHT SCREWED SOCKET | |
57 | 1***4 | BALL VALVE | |
58 | 1***0 | LEVER | |
59 | 1***8 | STRAIGHT SCREWED SOCKET | |
150 | 1***8 | METAL PLATE | |
151 | 3***4 | MUSHROOM HEAD SCREW | |
152 | 2***5 | HEXAGONAL NUT | |
153 | 2***3 | WASHER | |
185 | 1***0 | HOSE | |
186 | 1***9 | HOSE | |
250 | 8***4 | WIRE HARNESS HEATING | |
251 | 8***0 | CABLE HARNESS | |
253 | 2***3 | HEXAGON SCREW | |
254 | 2***9 | WASHER | |
255 | 2***4 | HEXAGONAL NUT | |
300 | 2***1 | WIRE FASTENER |
Содержащиеся в справочниках-каталогах запасные части и детали не предлагаются к продаже, а носят исключительно информационный характер. В демо-версии артикулы (номера деталей) скрыты. Если вы хотите видеть полные оригинальные номера запчастей, вам необходимо зарегистрироваться на нашем сайте и приобрести подписку по интересующей вас конфигурации, после этого вы сможете встроить онлайн-каталоги на ваш сайт или пользоваться ими из личного кабинета нашего сайта. Обращаем ваше внимание на то, что каталоги содержат информацию об оригинальных заводских номерах и названиях запчастей. База по аналогам в данный момент не реализована. Поиска по VIN-номерам в онлайн-каталоге не предусмотрено. Выбор конкретного каталога осуществляется путем открытия нужного типа техники, марки, модели с учетом года выпуска или модификации.