Каталог запасных частей к технике: HAMM 3412 (2019). DRIVE SHIFTING

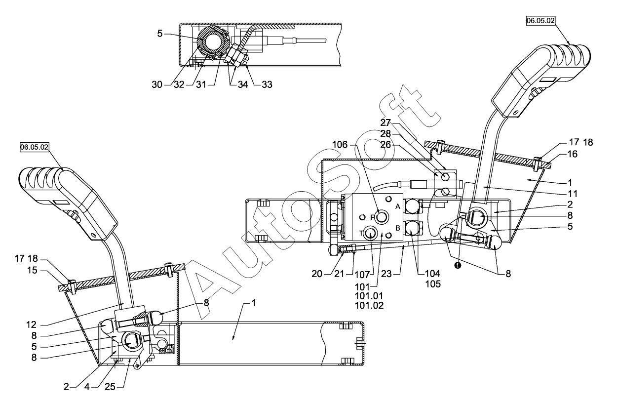
1
1
2
2
4
5
5
5
8
8
8
8
8
11
12
15
16
17
17
18
18
20
21
23
25
26
27
28
30
31
32
33
34
101
101.01
101.02
104
105
106
107
Позиция на иллюстрации | Заводской номер детали | Название детали | |
---|---|---|---|
1 | 8***1 | SEAT PEDESTAL | |
101 | 8***5 | VALVE | |
101.01 | 1***2 | O-RING SEAL | |
101.02 | 2***7 | O-RING SEAL | |
104 | 2***5 | BANJO | |
105 | 1***7 | REDUCING PIECE | |
106 | 1***2 | STRAIGHT SCREWED SOCKET | |
107 | 3***1 | STRAIGHT SCREWED SOCKET | |
11 | 8***3 | DRIVE LEVER RIGHT | |
12 | 8***0 | DRIVE LEVER LEFT | |
15 | 1***7 | CONNECTING LINK | |
16 | 1***2 | CONNECTING LINK | |
17 | 2***3 | FILLISTER HEAD SCREW | |
18 | 2***9 | WASHER | |
2 | 3***0 | HALF-CLIP | |
20 | 2***3 | ANGLE JOINT | |
21 | 2***2 | HEXAGONAL NUT | |
23 | 1***5 | LINKAGE | |
25 | 1***3 | METAL PLATE | |
26 | 3***1 | HALF-CLIP | |
27 | 3***5 | TOP COVER | |
28 | 3***4 | HEXAGON SCREW | |
30 | 1***4 | CLAMPING PIECE | |
31 | 1***2 | CLAMPING PIECE | |
32 | 3***7 | CHEESE-HEAD SCREW | |
33 | 2***0 | SPRING-THRUST PIECE | |
34 | 2***6 | HEXAGONAL NUT | |
4 | 3***9 | HEXAGON SCREW | |
5 | 8***8 | SHIFTING SHAFT | |
8 | 2***1 | ANGLE JOINT |
Содержащиеся в справочниках-каталогах запасные части и детали не предлагаются к продаже, а носят исключительно информационный характер. В демо-версии артикулы (номера деталей) скрыты. Если вы хотите видеть полные оригинальные номера запчастей, вам необходимо зарегистрироваться на нашем сайте и приобрести подписку по интересующей вас конфигурации, после этого вы сможете встроить онлайн-каталоги на ваш сайт или пользоваться ими из личного кабинета нашего сайта. Обращаем ваше внимание на то, что каталоги содержат информацию об оригинальных заводских номерах и названиях запчастей. База по аналогам в данный момент не реализована. Поиска по VIN-номерам в онлайн-каталоге не предусмотрено. Выбор конкретного каталога осуществляется путем открытия нужного типа техники, марки, модели с учетом года выпуска или модификации.