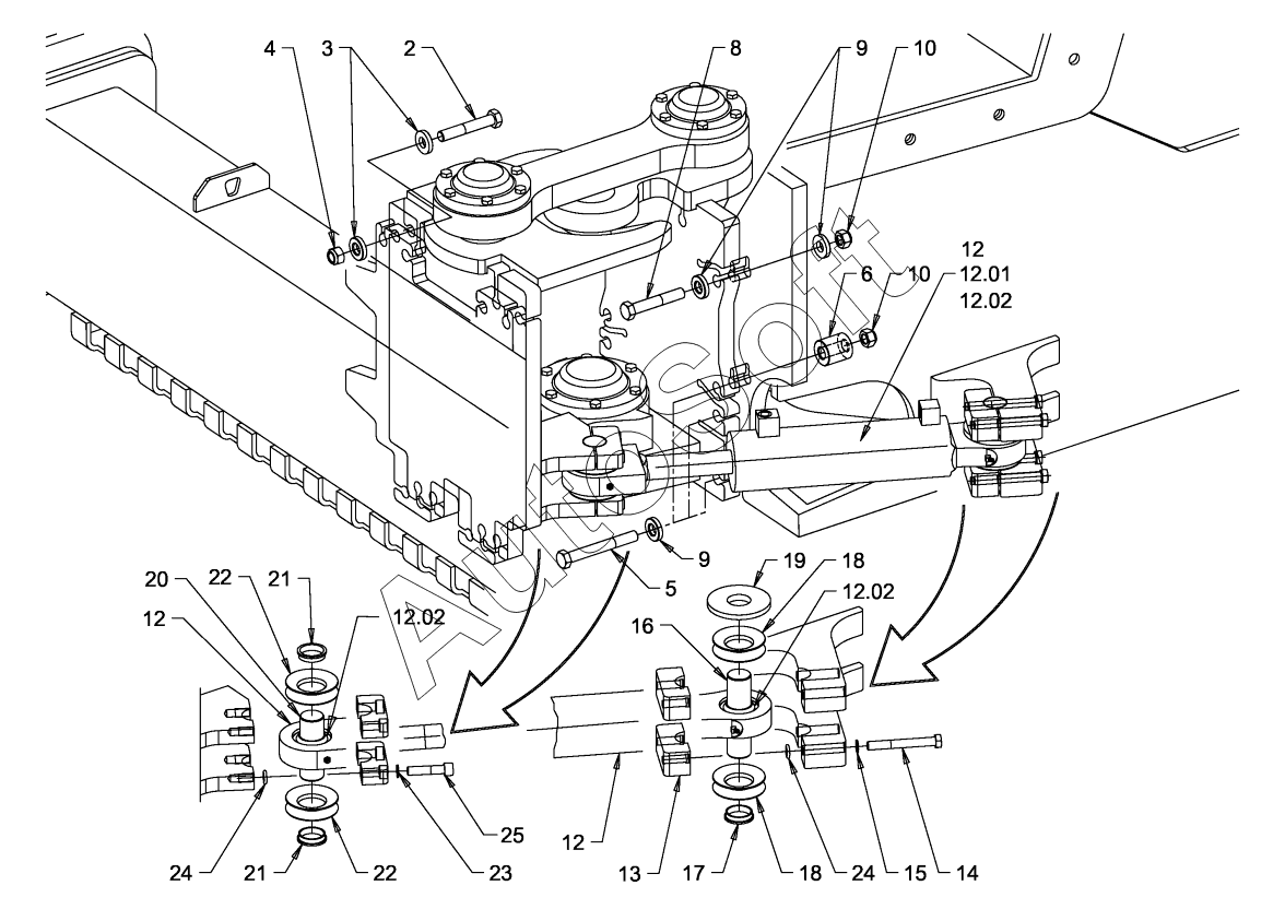
Каталог запасных частей к технике: HAMM 3412 (2019). CENTRE PIVOT ASSEMBLY

2
3
4
5
6
8
9
9
10
10
12
12
12
12.01
12.02
12.02
12.02
13
14
15
16
17
18
18
19
20
21
21
22
22
23
24
24
25
Позиция на иллюстрации | Заводской номер детали | Название детали | |
---|---|---|---|
10 | 3***3 | SAFETY NUT | |
12 | 1***5 | STEERING CYLINDER | |
12.01 | 1***8 | SET OF SEALS | |
12.02 | 1***7 | RADIAL ROD END BEARING | |
13 | 1***1 | CLAMPING PIECE | |
14 | 1***6 | HEXAGON SCREW | |
15 | 1***8 | LOCKING WASHER | |
16 | 1***4 | BOLT | |
17 | 1***0 | SPACER RING | |
18 | 1***4 | SEALING RING | |
19 | 1***8 | SPACER | |
2 | 1***5 | HEXAGON SCREW | |
20 | 1***2 | BOLT | |
21 | 1***0 | SPACER RING | |
22 | 1***4 | SEALING RING | |
23 | 1***8 | LOCKING WASHER | |
24 | 1***3 | O-RING SEAL | |
25 | 2***4 | CHEESE-HEAD SCREW | |
3 | 1***1 | U-WASHER | |
4 | 3***3 | SAFETY NUT | |
5 | 1***9 | HEXAGON SCREW | |
6 | 1***9 | DISTANCE PIECE | |
8 | 1***5 | HEXAGON SCREW | |
9 | 1***1 | U-WASHER |
Содержащиеся в справочниках-каталогах запасные части и детали не предлагаются к продаже, а носят исключительно информационный характер. В демо-версии артикулы (номера деталей) скрыты. Если вы хотите видеть полные оригинальные номера запчастей, вам необходимо зарегистрироваться на нашем сайте и приобрести подписку по интересующей вас конфигурации, после этого вы сможете встроить онлайн-каталоги на ваш сайт или пользоваться ими из личного кабинета нашего сайта. Обращаем ваше внимание на то, что каталоги содержат информацию об оригинальных заводских номерах и названиях запчастей. База по аналогам в данный момент не реализована. Поиска по VIN-номерам в онлайн-каталоге не предусмотрено. Выбор конкретного каталога осуществляется путем открытия нужного типа техники, марки, модели с учетом года выпуска или модификации.