Каталог запасных частей к технике: HAMM 3411 (2014). FUEL SYSTEM

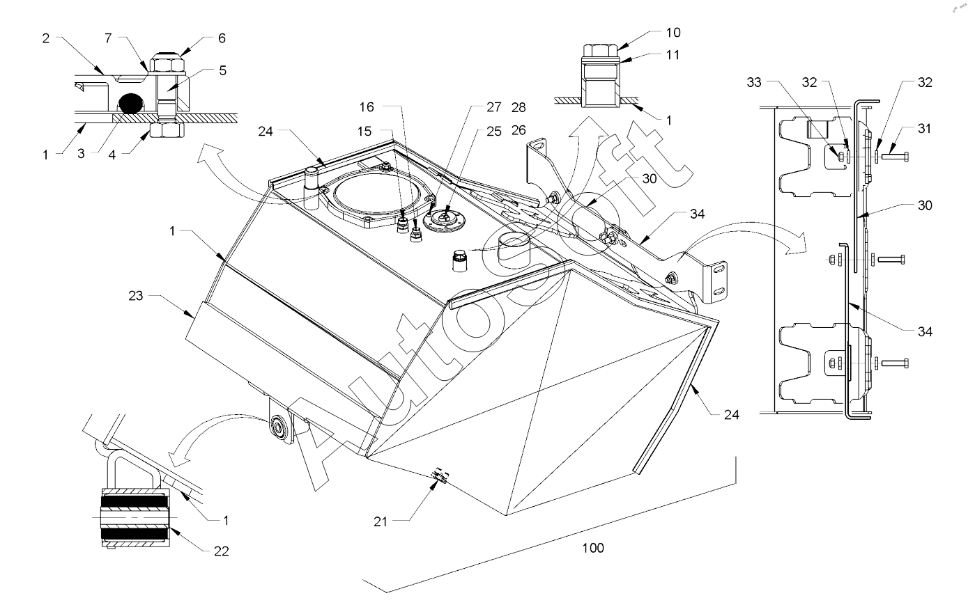
22
100
34
34
33
32
32
31
30
30
28
27
26
25
24
24
23
1
1
1
1
21
16
15
11
10
7
6
5
4
3
2
Позиция на иллюстрации | Заводской номер детали | Название детали | |
---|---|---|---|
1 | 2***6 | FUEL TANK | |
2 | 5***8 | LID | |
3 | 5***6 | O-RING SEAL | |
4 | 2***7 | HEXAGONAL NUT | |
5 | 2***5 | STUD SCREW | |
6 | 2***3 | HEXAGONAL NUT | |
7 | 2***7 | WASHER | |
10 | 2***7 | LOCKING SCREW | |
11 | 2***9 | SEALING RING | |
15 | 3***3 | STRAIGHT SCREWED SOCKET | |
16 | 3***0 | STRAIGHT SCREWED SOCKET | |
21 | 2***5 | LOCKING SCREW | |
22 | 2***5 | JACK | |
23 | 1***4 | INSULATION PLATE | |
24 | 2***6 | SEALING PROFILE | |
25 | 8***2 | FUEL LEVEL SENSOR | |
26 | 1***0 | SEALING | |
27 | 3***7 | SEALING RING | |
28 | 1***9 | CHEESE-HEAD SCREW | |
30 | 1***9 | METAL PLATE | |
31 | 2***4 | HEXAGON SCREW | |
32 | 2***3 | WASHER | |
33 | 2***1 | HEXAGONAL NUT | |
34 | 2***4 | HOLDER | |
100 | 2***2 | FUEL TANK |
Содержащиеся в справочниках-каталогах запасные части и детали не предлагаются к продаже, а носят исключительно информационный характер. В демо-версии артикулы (номера деталей) скрыты. Если вы хотите видеть полные оригинальные номера запчастей, вам необходимо зарегистрироваться на нашем сайте и приобрести подписку по интересующей вас конфигурации, после этого вы сможете встроить онлайн-каталоги на ваш сайт или пользоваться ими из личного кабинета нашего сайта. Обращаем ваше внимание на то, что каталоги содержат информацию об оригинальных заводских номерах и названиях запчастей. База по аналогам в данный момент не реализована. Поиска по VIN-номерам в онлайн-каталоге не предусмотрено. Выбор конкретного каталога осуществляется путем открытия нужного типа техники, марки, модели с учетом года выпуска или модификации.