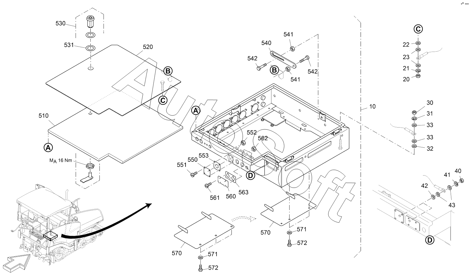
Каталог запасных частей к технике: VOGELE SUPER 1800-3 (2021). HEATING BOX:MECHANICAL

561
540
541
541
542
542
550
551
552
553
560
531
562
563
570
570
570
570
570
570
571
571
571
571
572
572
572
572
572
572
33
33
10
20
21
22
23
30
31
32
10
40
41
42
43
510
520
530
Позиция на иллюстрации | Заводской номер детали | Название детали | |
---|---|---|---|
10 | 2***3 | HEATING BOX:MECHANICAL | |
10 | 2***7 | HEATING BOX:MECHANICAL | |
20 | 2***2 | NUT | |
21 | 2***8 | SPRING RING | |
22 | 9***5 | WASHER | |
23 | 2***6 | CONTACT WASHER | |
30 | 2***5 | NUT | |
31 | 2***0 | SPRING RING | |
32 | 2***7 | WASHER | |
33 | 2***2 | CONTACT WASHER | |
40 | 2***0 | NUT | |
41 | 2***1 | SPRING RING | |
42 | 9***5 | WASHER | |
43 | 2***2 | CONTACT WASHER | |
510 | 2***2 | LID | |
520 | 2***1 | METAL PLATE | |
530 | 2***1 | CLOSURE | |
531 | 2***9 | SEALING | |
540 | 2***7 | SHEET | |
541 | 9***4 | NUT | |
542 | 9***3 | SCREW | |
550 | 2***4 | COVER | |
551 | 9***4 | SCREW | |
552 | 9***4 | NUT | |
553 | 2***2 | SEALING | |
560 | 2***9 | COVER | |
561 | 9***4 | SCREW | |
562 | 9***4 | NUT | |
563 | 2***5 | SEALING | |
570 | 2***7 | METAL PLATE | |
570 | 2***1 | LID | |
571 | 9***5 | WASHER | |
571 | 9***5 | WASHER | |
572 | 9***3 | SCREW | |
572 | 9***3 | SCREW |
Содержащиеся в справочниках-каталогах запасные части и детали не предлагаются к продаже, а носят исключительно информационный характер. В демо-версии артикулы (номера деталей) скрыты. Если вы хотите видеть полные оригинальные номера запчастей, вам необходимо зарегистрироваться на нашем сайте и приобрести подписку по интересующей вас конфигурации, после этого вы сможете встроить онлайн-каталоги на ваш сайт или пользоваться ими из личного кабинета нашего сайта. Обращаем ваше внимание на то, что каталоги содержат информацию об оригинальных заводских номерах и названиях запчастей. База по аналогам в данный момент не реализована. Поиска по VIN-номерам в онлайн-каталоге не предусмотрено. Выбор конкретного каталога осуществляется путем открытия нужного типа техники, марки, модели с учетом года выпуска или модификации.