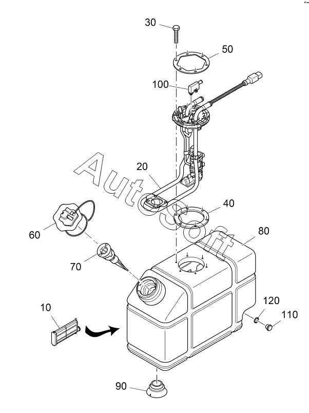
Каталог запасных частей к технике: VOGELE SUPER 1800-3 SJ (2021). TANK

10
20
30
40
50
60
70
80
90
100
110
120
Позиция на иллюстрации | Заводской номер детали | Название детали | |
---|---|---|---|
10 | 2***6 | FILTER | |
20 | 2***0 | LEVEL SENSOR: TANK | |
30 | 2***7 | SCREW | |
40 | 2***0 | RING | |
50 | 2***6 | RING | |
60 | 2***7 | LID | |
70 | 2***9 | FILTER | |
80 | 2***1 | TANK | |
90 | 2***4 | SPACER BUSH | |
100 | 2***6 | AIR VENT | |
110 | 2***0 | DRAIN SCREW | |
120 | 2***1 | SEALING |
Содержащиеся в справочниках-каталогах запасные части и детали не предлагаются к продаже, а носят исключительно информационный характер. В демо-версии артикулы (номера деталей) скрыты. Если вы хотите видеть полные оригинальные номера запчастей, вам необходимо зарегистрироваться на нашем сайте и приобрести подписку по интересующей вас конфигурации, после этого вы сможете встроить онлайн-каталоги на ваш сайт или пользоваться ими из личного кабинета нашего сайта. Обращаем ваше внимание на то, что каталоги содержат информацию об оригинальных заводских номерах и названиях запчастей. База по аналогам в данный момент не реализована. Поиска по VIN-номерам в онлайн-каталоге не предусмотрено. Выбор конкретного каталога осуществляется путем открытия нужного типа техники, марки, модели с учетом года выпуска или модификации.