Каталог запасных частей к технике: VOGELE SUPER 1800-3 SJ (2021). WITOS FLEETVIEW

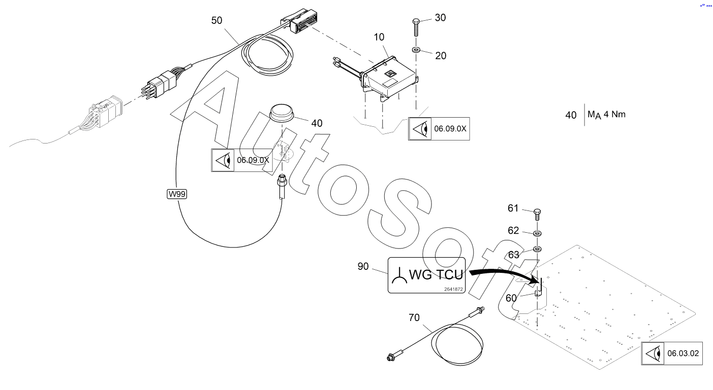
10
20
30
40
40
50
60
61
62
63
70
90
Позиция на иллюстрации | Заводской номер детали | Название детали | |
---|---|---|---|
10 | 2***3 | TELEMATIC CONTROL UNIT WGP TCU 3G MF-1 | |
20 | 9***5 | WASHER | |
30 | 9***3 | SCREW | |
40 | 2***4 | ANTENNA | |
50 | 2***9 | CABLE W99 | |
60 | 2***4 | HOLDER | |
61 | 9***4 | SCREW | |
62 | 9***5 | WASHER | |
63 | 9***1 | WASHER | |
70 | 2***4 | CABLE | |
90 | 2***2 | LABEL |
Содержащиеся в справочниках-каталогах запасные части и детали не предлагаются к продаже, а носят исключительно информационный характер. В демо-версии артикулы (номера деталей) скрыты. Если вы хотите видеть полные оригинальные номера запчастей, вам необходимо зарегистрироваться на нашем сайте и приобрести подписку по интересующей вас конфигурации, после этого вы сможете встроить онлайн-каталоги на ваш сайт или пользоваться ими из личного кабинета нашего сайта. Обращаем ваше внимание на то, что каталоги содержат информацию об оригинальных заводских номерах и названиях запчастей. База по аналогам в данный момент не реализована. Поиска по VIN-номерам в онлайн-каталоге не предусмотрено. Выбор конкретного каталога осуществляется путем открытия нужного типа техники, марки, модели с учетом года выпуска или модификации.