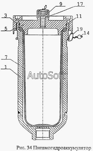
Каталог запасных частей к технике: ТВЭКС ВП-05. Пневмогидроаккумулятор
1
3
5
7
9
11
14
17
19
| Позиция на иллюстрации | Заводской номер детали | Название детали | |
|---|---|---|---|
| 1 | 6***0 | Корпус | |
| 3 | 6***2 | Гайка | |
| 5 | 6***3 | Крышка | |
| 7 | 6***5 | Диафрагма | |
| 9 | 6***8 | Винт | |
| 11 | 0***3 | Кольцо | |
| 14 | 1***4 | Пломба | |
| 17 | 1***7 | Прокладка | |
| 19 | 1***4 | Проволока L=600 мм |
Содержащиеся в справочниках-каталогах запасные части и детали не предлагаются к продаже, а носят исключительно информационный характер. В демо-версии артикулы (номера деталей) скрыты. Если вы хотите видеть полные оригинальные номера запчастей, вам необходимо зарегистрироваться на нашем сайте и приобрести подписку по интересующей вас конфигурации, после этого вы сможете встроить онлайн-каталоги на ваш сайт или пользоваться ими из личного кабинета нашего сайта. Обращаем ваше внимание на то, что каталоги содержат информацию об оригинальных заводских номерах и названиях запчастей. База по аналогам в данный момент не реализована. Поиска по VIN-номерам в онлайн-каталоге не предусмотрено. Выбор конкретного каталога осуществляется путем открытия нужного типа техники, марки, модели с учетом года выпуска или модификации.