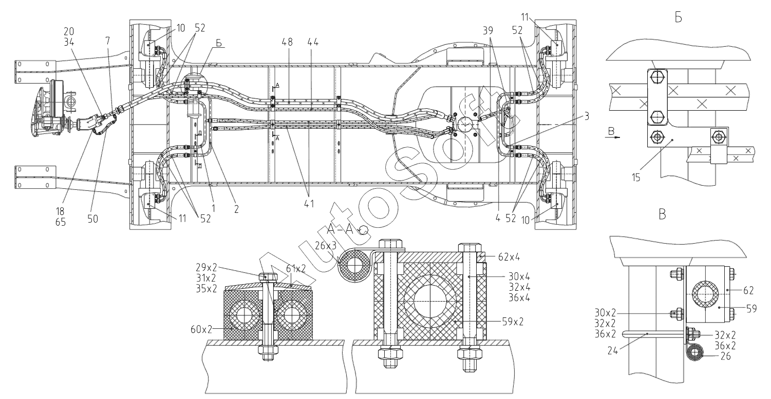
Каталог запасных частей к технике: ТВЭКС ЭОВ-3521М-1 (2017). 417-10-21.80.000 Гидрооборудование на раме
44
31
32
32
32
34
35
36
36
36
39
41
30
30
48
50
52
52
52
52
59
59
60
61
62
62
65
15
2
2
2
2
2
2
2
2
2
2
2
2
3
3
4
4
4
4
4
7
10
10
11
11
1
18
20
24
26
26
29
| Позиция на иллюстрации | Заводской номер детали | Название детали | |
|---|---|---|---|
| 1 | 4***0 | Трубопровод | |
| 2 | 4***0 | Трубопровод | |
| 3 | 4***0 | Трубопровод | |
| 4 | 4***0 | Трубопровод | |
| 7 | 4***0 | Трубопровод | |
| 8 | 4***0 | Трубопровод | |
| 10 | 4***0 | Гидроцилиндр выносных опор левый | |
| 11 | 4***0 | Гидроцилиндр выносных опор правый | |
| 13 | 4***0 | Коллектор | |
| 15 | 4***1 | Кронштейн | |
| 18 | 3***1 | Штуцер | |
| 19 | 3***9 | Штуцер | |
| 20 | 4***6 | Штуцер | |
| 21 | Э***1 | Скоба | |
| 24 | Э***5 | Хомут | |
| 26 | Н***0 | Хомут | |
| 28 | M***6 | Болт | |
| 29 | M***6 | Болт | |
| 30 | M***6 | Болт | |
| 31 | M***6 | Гайка | |
| 32 | M***6 | Гайка | |
| 33 | 0***3 | Кольцо | |
| 34 | 0***3 | Кольцо | |
| 35 | 8***6 | Шайба | |
| 36 | 1***6 | Шайба | |
| 37 | С***9 | Шайба | |
| 39 | 1***У | Рукав | |
| 41 | 1***У | Рукав | |
| 44 | 1***У | Рукав | |
| 48 | 2***У | Рукав | |
| 50 | 2***є | Рукав | |
| 52 | 2***є | Рукав | |
| 59 | D***Н | Корпус одиночного зажима | |
| 60 | D***Н | Корпус одиночного зажима | |
| 61 | D***3 | Накладка | |
| 62 | D***2 | Накладка | |
| 65 | 4***0 | Прокладка |
Содержащиеся в справочниках-каталогах запасные части и детали не предлагаются к продаже, а носят исключительно информационный характер. В демо-версии артикулы (номера деталей) скрыты. Если вы хотите видеть полные оригинальные номера запчастей, вам необходимо зарегистрироваться на нашем сайте и приобрести подписку по интересующей вас конфигурации, после этого вы сможете встроить онлайн-каталоги на ваш сайт или пользоваться ими из личного кабинета нашего сайта. Обращаем ваше внимание на то, что каталоги содержат информацию об оригинальных заводских номерах и названиях запчастей. База по аналогам в данный момент не реализована. Поиска по VIN-номерам в онлайн-каталоге не предусмотрено. Выбор конкретного каталога осуществляется путем открытия нужного типа техники, марки, модели с учетом года выпуска или модификации.