Меню Закрыть

Демо

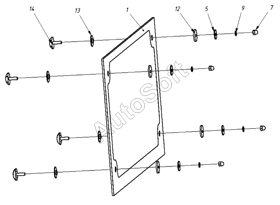
Каталог запасных частей к технике: ТВЭКС E225NLC (2022). 202020100600 00 Установка нижнего стекла

zoom-in zoom-out enlarge shrink circle-right circle-left file-text2 info cart
1
5
7
9
12
13
14
Позиция на иллюстрации Заводской номер детали Название детали
1 2***0 Стекло нижнее
5 0***0 Шайба
7 0***1 Гайка
9 0***1 Шайба
12 0***1 Шайба резиновая
13 0***1 Шайба резиновая
14 0***1 Винт специальный
Содержащиеся в справочниках-каталогах запасные части и детали не предлагаются к продаже, а носят исключительно информационный характер. В демо-версии артикулы (номера деталей) скрыты. Если вы хотите видеть полные оригинальные номера запчастей, вам необходимо зарегистрироваться на нашем сайте и приобрести подписку по интересующей вас конфигурации, после этого вы сможете встроить онлайн-каталоги на ваш сайт или пользоваться ими из личного кабинета нашего сайта. Обращаем ваше внимание на то, что каталоги содержат информацию об оригинальных заводских номерах и названиях запчастей. База по аналогам в данный момент не реализована. Поиска по VIN-номерам в онлайн-каталоге не предусмотрено. Выбор конкретного каталога осуществляется путем открытия нужного типа техники, марки, модели с учетом года выпуска или модификации.