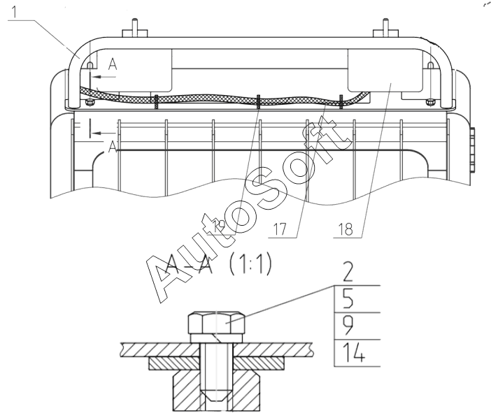
Каталог запасных частей к технике: ТВЭКС E160C CT (2024). Установка дополнительных фар на кабину. 170-77-30.30.100

1
2
5
9
14
18
19
17
Позиция на иллюстрации | Заводской номер детали | Название детали | |
---|---|---|---|
1 | 1***0 | Установка защиты дополнительных фар | |
2 | 1***5 | Шайба | |
5 | 0***3 | Болт | |
9 | 0***7 | Шайба | |
14 | 0***0 | Шайба | |
17 | Э***2 | Жгут проводов | |
18 | Э***4 | Фара | |
19 | 0***4 | Хомут пластиковый |
Содержащиеся в справочниках-каталогах запасные части и детали не предлагаются к продаже, а носят исключительно информационный характер. В демо-версии артикулы (номера деталей) скрыты. Если вы хотите видеть полные оригинальные номера запчастей, вам необходимо зарегистрироваться на нашем сайте и приобрести подписку по интересующей вас конфигурации, после этого вы сможете встроить онлайн-каталоги на ваш сайт или пользоваться ими из личного кабинета нашего сайта. Обращаем ваше внимание на то, что каталоги содержат информацию об оригинальных заводских номерах и названиях запчастей. База по аналогам в данный момент не реализована. Поиска по VIN-номерам в онлайн-каталоге не предусмотрено. Выбор конкретного каталога осуществляется путем открытия нужного типа техники, марки, модели с учетом года выпуска или модификации.