Каталог запасных частей к технике: ТВЭКС E200NC (2024). Установка блока радиаторов. 200-17-28.03.000

44
45
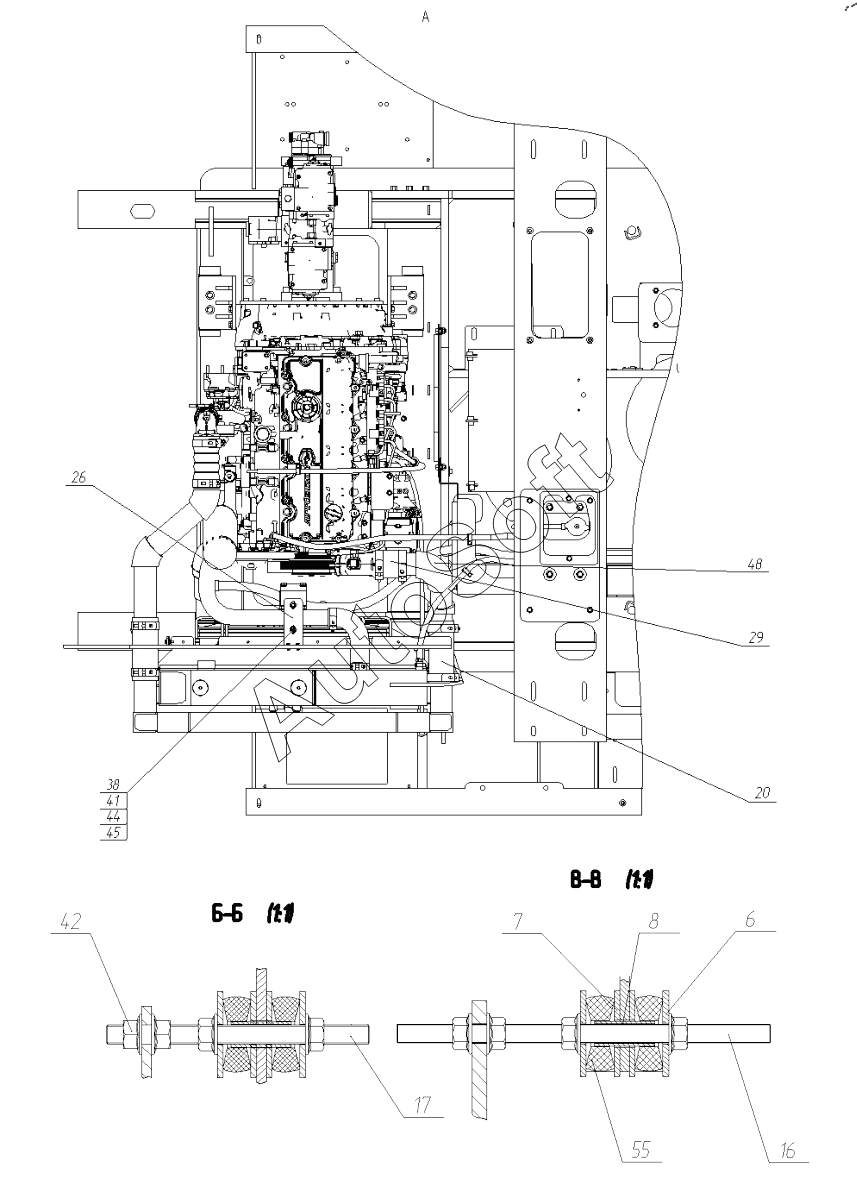
48
55
6
7
8
16
17
20
26
38
41
42
Позиция на иллюстрации | Заводской номер детали | Название детали | |
---|---|---|---|
26950011292 | 2***2 | Хомут | |
2 | 1***7 | Перегородка | |
6 | 1***1 | Шайба | |
7 | 1***2 | Шайба | |
8 | 1***8 | Втулка | |
11 | 1***3 | Шпилька | |
13 | 1***1 | Перегородка | |
14 | 1***2 | Перегородка | |
15 | 1***6 | Уплотнитель | |
16 | 1***8 | Шпилька | |
17 | 1***0 | Шпилька | |
18 | 1***7 | Уплотнитель | |
20 | 1***3 | Рукав | |
23 | 1***2 | Хомут | |
26 | 1***1 | Кронштейн | |
27 | 1***3 | Кронштейн растяжки | |
28 | 1***4 | Кронштейн растяжки | |
30 | 1***6 | Рукав | |
31 | 1***8 | Перегородка | |
32 | 1***9 | Рукав | |
34 | 1***9 | Рукав | |
36 | 2***6 | Болт | |
37 | 2***0 | Болт | |
38 | 0***8 | Болт | |
39 | 0***3 | Гайка | |
40 | 0***4 | Гайка | |
41 | 0***7 | Гайка | |
42 | 0***1 | Гайка | |
43 | 2***8 | Гайка | |
44 | 0***9 | Шайба | |
45 | 2***4 | Болт | |
46 | 0***2 | Винт | |
47 | 0***0 | Труба | |
48 | 0***0 | Труба | |
49 | 0***1 | Труба | |
50 | 0***0 | Труба | |
51 | 2***9 | Амортизатор | |
52 | Э***1 | Теплообменник с диффузором, крыльчаткой и мотором | |
53 | Э***0 | Расширительный бачок | |
55 | 2***4 | Подушка амортизатора | |
56 | 2***7 | Скоба резиноармированная | |
57 | 2***8 | Рукав | |
58 | 2***3 | Хомут | |
59 | 2***7 | Хомут | |
60 | 0***2 | Хомут | |
61 | 3***2 | Патрубок | |
62 | 2***5 | Хомут | |
63 | 2***9 | Хомут | |
64 | 2***5 | Хомут | |
66 | 0***3 | Шланг | |
68 | 2***6 | Хомут усиленный двухболтовой | |
70 | 2***1 | Манжета переходная | |
71 | 2***6 | Рукава | |
72 | 2***1 | Рукав |
Содержащиеся в справочниках-каталогах запасные части и детали не предлагаются к продаже, а носят исключительно информационный характер. В демо-версии артикулы (номера деталей) скрыты. Если вы хотите видеть полные оригинальные номера запчастей, вам необходимо зарегистрироваться на нашем сайте и приобрести подписку по интересующей вас конфигурации, после этого вы сможете встроить онлайн-каталоги на ваш сайт или пользоваться ими из личного кабинета нашего сайта. Обращаем ваше внимание на то, что каталоги содержат информацию об оригинальных заводских номерах и названиях запчастей. База по аналогам в данный момент не реализована. Поиска по VIN-номерам в онлайн-каталоге не предусмотрено. Выбор конкретного каталога осуществляется путем открытия нужного типа техники, марки, модели с учетом года выпуска или модификации.