Каталог запасных частей к технике: ТВЭКС E330C Var 2 (2024). Установка поддонов 272.13.00.00.000-01

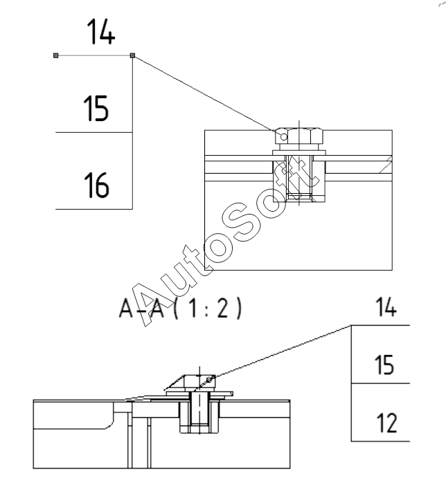
12
14
14
15
15
16
Позиция на иллюстрации | Заводской номер детали | Название детали | |
---|---|---|---|
272.13.00.00.050 | 2***0 | Установка виброизоляции | |
1 | 2***0 | Поддон в сборе | |
2 | 2***0 | Поддон в сборе | |
4 | 2***5 | Поддон | |
5 | 2***6 | Поддон | |
7 | 2***7 | Поддон | |
8 | 2***5 | Поддон | |
9 | 2***6 | Поддон | |
10 | 2***7 | Поддон | |
12 | 0***4 | Шайба | |
13 | 2***2 | Поддон | |
14 | 0***1 | Болт | |
15 | 0***1 | Шайба | |
16 | 0***1 | Шайба |
Содержащиеся в справочниках-каталогах запасные части и детали не предлагаются к продаже, а носят исключительно информационный характер. В демо-версии артикулы (номера деталей) скрыты. Если вы хотите видеть полные оригинальные номера запчастей, вам необходимо зарегистрироваться на нашем сайте и приобрести подписку по интересующей вас конфигурации, после этого вы сможете встроить онлайн-каталоги на ваш сайт или пользоваться ими из личного кабинета нашего сайта. Обращаем ваше внимание на то, что каталоги содержат информацию об оригинальных заводских номерах и названиях запчастей. База по аналогам в данный момент не реализована. Поиска по VIN-номерам в онлайн-каталоге не предусмотрено. Выбор конкретного каталога осуществляется путем открытия нужного типа техники, марки, модели с учетом года выпуска или модификации.