Каталог запасных частей к технике: ТВЭКС E330C Var 2 (2024). Тележка ходовая. 301.00.00.00.000-70

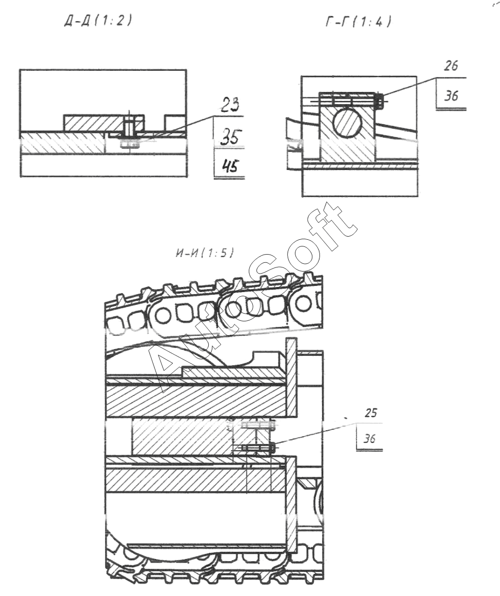
45
36
36
35
26
25
23
Позиция на иллюстрации | Заводской номер детали | Название детали | |
---|---|---|---|
000017121151 01 | 0***1 | Механизм натяжения | |
3 | 2***0 | Гидрооборудование тележки | |
4 | 2***1 | Установка приводов хода | |
5 | 2***0 | Установка ОПРУ | |
6 | 2***0 | Крышка в сборе | |
7 | 2***0 | Крышка в сборе | |
8 | 2***0 | Ограничитель | |
9 | 3***0 | Рама тележки | |
10 | 1***0 | Подножка | |
13 | 2***0 | Люк в сборе | |
18 | 1***5 | Крышка | |
21 | 0***1 | Болт | |
22 | 0***1 | Болт | |
23 | 0***1 | Болт | |
24 | 0***1 | Болт | |
25 | 0***1 | Болт | |
26 | 0***1 | Болт | |
27 | 0***1 | Болт | |
28 | 0***1 | Болт | |
33 | 0***1 | Шайба | |
34 | 0***1 | Шайба | |
35 | 0***1 | Шайба | |
36 | 0***1 | Шайба | |
37 | 0***1 | Шайба | |
39 | 0***1 | Шайба | |
43 | 0***1 | Шайба | |
44 | 0***1 | Шайба | |
45 | 0***1 | Шайба | |
51 | 0***1 | Каток опорный | |
52 | 0***1 | Каток поддерживающий | |
53 | 0***1 | Колесо натяжное | |
56 | 0***1 | Гусеничная лента |
Содержащиеся в справочниках-каталогах запасные части и детали не предлагаются к продаже, а носят исключительно информационный характер. В демо-версии артикулы (номера деталей) скрыты. Если вы хотите видеть полные оригинальные номера запчастей, вам необходимо зарегистрироваться на нашем сайте и приобрести подписку по интересующей вас конфигурации, после этого вы сможете встроить онлайн-каталоги на ваш сайт или пользоваться ими из личного кабинета нашего сайта. Обращаем ваше внимание на то, что каталоги содержат информацию об оригинальных заводских номерах и названиях запчастей. База по аналогам в данный момент не реализована. Поиска по VIN-номерам в онлайн-каталоге не предусмотрено. Выбор конкретного каталога осуществляется путем открытия нужного типа техники, марки, модели с учетом года выпуска или модификации.