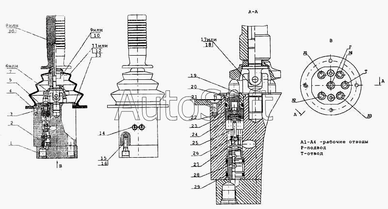
Каталог запасных частей к технике: ТВЭКС ЕК-12 (2005). Блок управления
16
30
29
28
27
26
25
24
23
22
21
20
19
18
17
1
15
14
13
12
11
10
9
8
7
6
5
4
3
2
| Позиция на иллюстрации | Заводской номер детали | Название детали | |
|---|---|---|---|
| 1 | 1***0 | Крышка | |
| 2 | 1***1 | Корпус | |
| 3 | 1***9 | Винт | |
| 4 | 1***3 | Фланец | |
| 5 | 1***4 | Крышка | |
| 6 | 1***5 | Тарелка | |
| 7 | 1***5 | Тарелка | |
| 8 | 1***0 | Рукоятка | |
| 9 | 1***7 | Гайка | |
| 10 | 1***7 | Гайка | |
| 11 | 6***3 | Чехол | |
| 12 | 1***5 | Чехол | |
| 13 | 1***3 | Кольцо проставочное | |
| 14 | 1***8 | Пробка | |
| 15 | 1***9 | Винт | |
| 16 | 6***9 | Шайба | |
| 17 | 1***0 | Крестовина | |
| 18 | 1***0 | Опора | |
| 19 | 1***6 | Толкатель | |
| 20 | 1***7 | Втулка верхняя | |
| 21 | 6***4 | Манжета 10х13.6 | |
| 22 | 1***8 | Шайба | |
| 23 | 1***9 | Упор | |
| 24 | 1***3 | Пружина | |
| 25 | 1***0 | Золотник | |
| 26 | 1***0 | Пружина | |
| 27 | 1***2 | Втулка | |
| 28 | 1***4 | Втулка нижняя | |
| 29 | 9***3 | Кольцо | |
| 30 | 1***0 | Рукоятка |
Содержащиеся в справочниках-каталогах запасные части и детали не предлагаются к продаже, а носят исключительно информационный характер. В демо-версии артикулы (номера деталей) скрыты. Если вы хотите видеть полные оригинальные номера запчастей, вам необходимо зарегистрироваться на нашем сайте и приобрести подписку по интересующей вас конфигурации, после этого вы сможете встроить онлайн-каталоги на ваш сайт или пользоваться ими из личного кабинета нашего сайта. Обращаем ваше внимание на то, что каталоги содержат информацию об оригинальных заводских номерах и названиях запчастей. База по аналогам в данный момент не реализована. Поиска по VIN-номерам в онлайн-каталоге не предусмотрено. Выбор конкретного каталога осуществляется путем открытия нужного типа техники, марки, модели с учетом года выпуска или модификации.