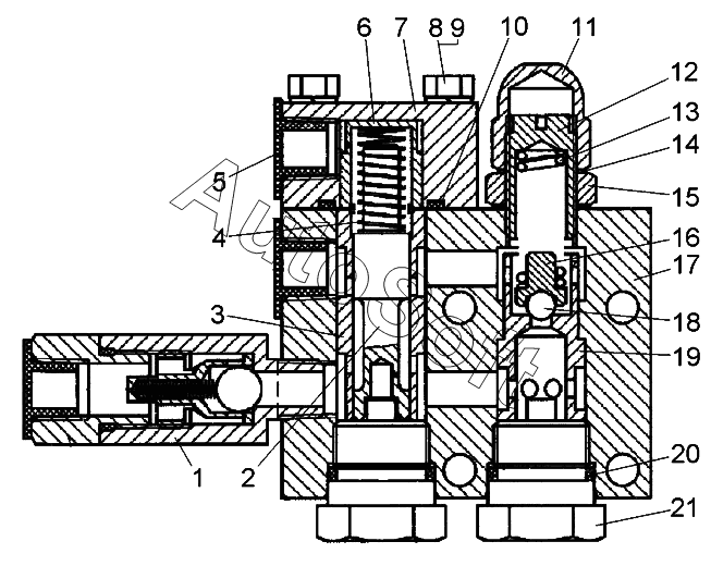
Каталог запасных частей к технике: БелАЗ 78231 (2019). Клапан-регулятор (75303-3420200);Regulator valve

11
21
20
19
18
17
16
15
14
13
12
1
10
9
8
7
6
5
4
3
2
Позиция на иллюстрации | Заводской номер детали | Название детали | |
---|---|---|---|
1 | 7***4 | Клапан обратный | |
2 | 7***8 | Золотник | |
3 | 7***6 | Гильза | |
4 | 5***0 | Пружина | |
5 | 3***2 | Заглушка | |
6 | 7***2 | Направляющая пружины | |
7 | 7***2 | Крышка | |
8 | 2***4 | Болт | |
9 | 2***5 | Шайба | |
10 | К***3 | Кольцо 030-035-30-2-3 | |
11 | 5***3 | Колпак предохранительного клапана | |
12 | 5***4 | Винт регулировочный | |
13 | 5***4 | Пружина | |
14 | 5***6 | Шайба | |
15 | 2***0 | Гайка | |
16 | 7***8 | Сухарь | |
17 | 7***4 | Корпус | |
18 | Ш***0 | Шарик 7,938-100 | |
19 | 7***6 | Седло | |
20 | К***3 | Кольцо 025-030-30-2-3 | |
21 | 7***4 | Заглушка |
Содержащиеся в справочниках-каталогах запасные части и детали не предлагаются к продаже, а носят исключительно информационный характер. В демо-версии артикулы (номера деталей) скрыты. Если вы хотите видеть полные оригинальные номера запчастей, вам необходимо зарегистрироваться на нашем сайте и приобрести подписку по интересующей вас конфигурации, после этого вы сможете встроить онлайн-каталоги на ваш сайт или пользоваться ими из личного кабинета нашего сайта. Обращаем ваше внимание на то, что каталоги содержат информацию об оригинальных заводских номерах и названиях запчастей. База по аналогам в данный момент не реализована. Поиска по VIN-номерам в онлайн-каталоге не предусмотрено. Выбор конкретного каталога осуществляется путем открытия нужного типа техники, марки, модели с учетом года выпуска или модификации.