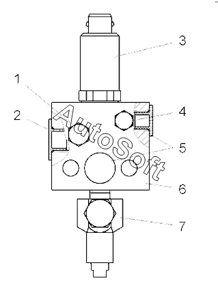
Каталог запасных частей к технике: БелАЗ 78231 (2019). Клапан редукционный (75137-3512012);Pressure reducing valve

1
2
3
4
5
6
7
Позиция на иллюстрации | Заводской номер детали | Название детали | |
---|---|---|---|
1 | 2***2 | Пробка | |
2 | 3***2 | Заглушка | |
3 | F***V | Пропорциональный редукционный клапан | |
4 | 2***1 | Пробка | |
5 | 3***6 | Заглушка | |
6 | 7***2 | Корпус | |
7 | 7***0 | Клапан |
Содержащиеся в справочниках-каталогах запасные части и детали не предлагаются к продаже, а носят исключительно информационный характер. В демо-версии артикулы (номера деталей) скрыты. Если вы хотите видеть полные оригинальные номера запчастей, вам необходимо зарегистрироваться на нашем сайте и приобрести подписку по интересующей вас конфигурации, после этого вы сможете встроить онлайн-каталоги на ваш сайт или пользоваться ими из личного кабинета нашего сайта. Обращаем ваше внимание на то, что каталоги содержат информацию об оригинальных заводских номерах и названиях запчастей. База по аналогам в данный момент не реализована. Поиска по VIN-номерам в онлайн-каталоге не предусмотрено. Выбор конкретного каталога осуществляется путем открытия нужного типа техники, марки, модели с учетом года выпуска или модификации.