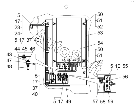
Каталог запасных частей к технике: БелАЗ 78231 (2019). Монтаж электрооборудования в кабине (78231-3700007-40);Electrical equipment installation in the cockpit

45
37
37
40
40
43
44
46
47
48
50
50
51
51
52
52
53
54
55
56
57
58
59
59
5
5
5
5
5
10
17
17
17
17
23
24
Позиция на иллюстрации | Заводской номер детали | Название детали | |
---|---|---|---|
1 | В***9 | Винт B.M3-6gx10.48.019 | |
2 | Г***я | Гайка шестигранная нормальная | |
3 | Ш***6 | Шайба 3Т.65Г.06 | |
4 | В***9 | Винт B.М6-6gх12.48.019 | |
5 | Ш***6 | Шайба | |
6 | 5***7 | Кольцо 16х5 | |
7 | 7***0 | Пластина | |
8 | 7***2 | Бирка | |
9 | В***9 | Винт | |
10 | Г***я | Гайка шестигранная нормальная | |
11 | 2***4 | Шайба | |
12 | 1***3 | Панель | |
13 | 7***0 | Жгут проводов основной | |
14 | 7***0 | Жгут проводов фар рабочего освещения. | |
15 | 5***6 | Кольцо | |
16 | С***5 | Светильник автотранспортный стационарный САС-5 | |
17 | Б***) | Болт M6-6gx16.68.019(S10) | |
18 | 3***8 | Кляммер | |
19 | 5***3 | Прокладка | |
20 | 5***5 | Трубка | |
21 | 3***1 | Кляммер | |
22 | Ш***9 | Шайба | |
23 | 5***1 | Прокладка | |
24 | 3***6 | Кляммер | |
25 | 7***2 | Кронштейн | |
26 | П***А | Преобразователь напряжения | |
27 | 2***5 | Втулка | |
28 | Г***0 | Гайка 114020-90 | |
29 | Ш***1 | Шайба 114021 | |
30 | Г***0 | Гайка 112263-90 | |
31 | Ш***4 | Шайба 112264 | |
32 | 0***2 | Переключатель подрулевой | |
33 | С***я | Стяжка кабельная | |
34 | 2***5 | Втулка | |
35 | 5***7 | Кольцо | |
36 | Б***) | Болт M6-6gx20.68.019(S10) | |
37 | 5***1 | Прокладка | |
38 | 3***9 | Кляммер | |
39 | 7***0 | Жгут проводов | |
40 | 3***7 | Кляммер | |
41 | 3***2 | Кляммер | |
42 | 5***3 | Трубка | |
43 | 7***0 | Кронштейн | |
44 | Г***D | Гайка шестигранная нормальная | |
45 | В***9 | Винт B.М4-6gx16.48.019 | |
46 | Ш***6 | Шайба 4Н.65Г.06 | |
47 | Б***В | Блок защиты БЗ-30 | |
48 | П***В | Предохранитель | |
50 | Б***9 | Болт M8-6gх16.68.019 | |
51 | 2***5 | Шайба | |
52 | Ш***6 | Шайба 8Т.65Г.06 | |
53 | 7***0 | Основание | |
54 | 7***0 | Блок коммутации | |
55 | В***9 | Винт B.M6-6gx16.48.019 | |
56 | Ш***9 | Шайба A.4x0,9.01.08кп.019 | |
57 | 7***0 | Диод с перемычкой | |
58 | 7***8 | Перемычка | |
59 | 7***5 | Кронштейн | |
59 | С***0 | Сопротивление дополнительное СЭ300 |
Содержащиеся в справочниках-каталогах запасные части и детали не предлагаются к продаже, а носят исключительно информационный характер. В демо-версии артикулы (номера деталей) скрыты. Если вы хотите видеть полные оригинальные номера запчастей, вам необходимо зарегистрироваться на нашем сайте и приобрести подписку по интересующей вас конфигурации, после этого вы сможете встроить онлайн-каталоги на ваш сайт или пользоваться ими из личного кабинета нашего сайта. Обращаем ваше внимание на то, что каталоги содержат информацию об оригинальных заводских номерах и названиях запчастей. База по аналогам в данный момент не реализована. Поиска по VIN-номерам в онлайн-каталоге не предусмотрено. Выбор конкретного каталога осуществляется путем открытия нужного типа техники, марки, модели с учетом года выпуска или модификации.