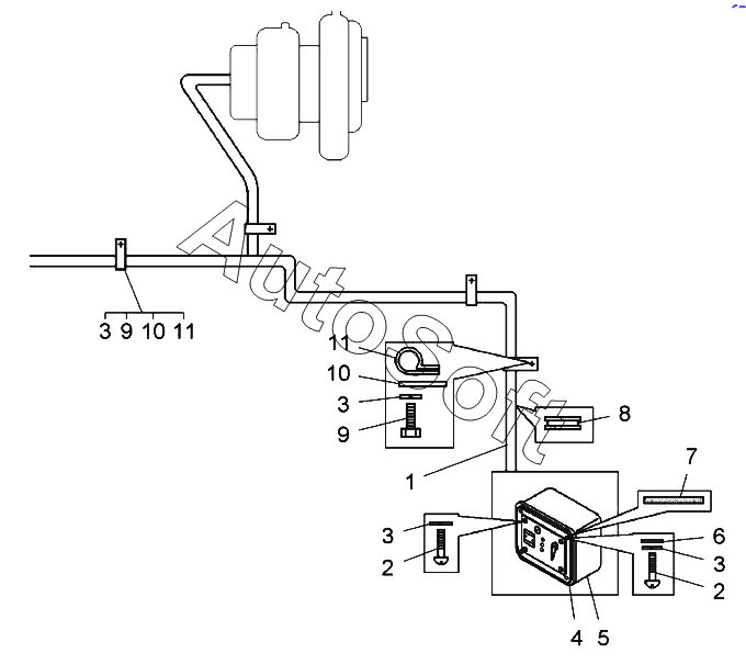
Каталог запасных частей к технике: БелАЗ 78231 (2019). Установка щитка управления подогревателя двигателя (7821-3700036);Install Shield engine heater control

1
2
2
3
3
3
3
4
5
6
7
8
9
9
10
10
11
11
Позиция на иллюстрации | Заводской номер детали | Название детали | |
---|---|---|---|
1 | 7***0 | Жгут проводов подогревателя | |
2 | В***9 | Винт B.М6-6gх12.48.019 | |
3 | Ш***6 | Шайба | |
4 | 5***0 | Щиток управления подогревателя | |
5 | 5***0 | Кожух | |
6 | 2***4 | Шайба | |
7 | 5***8 | Прокладка термоизоляционная | |
8 | 2***5 | Втулка | |
9 | Б***) | Болт M6-6gx16.68.019(S10) | |
10 | 5***1 | Прокладка | |
11 | 3***6 | Кляммер |
Содержащиеся в справочниках-каталогах запасные части и детали не предлагаются к продаже, а носят исключительно информационный характер. В демо-версии артикулы (номера деталей) скрыты. Если вы хотите видеть полные оригинальные номера запчастей, вам необходимо зарегистрироваться на нашем сайте и приобрести подписку по интересующей вас конфигурации, после этого вы сможете встроить онлайн-каталоги на ваш сайт или пользоваться ими из личного кабинета нашего сайта. Обращаем ваше внимание на то, что каталоги содержат информацию об оригинальных заводских номерах и названиях запчастей. База по аналогам в данный момент не реализована. Поиска по VIN-номерам в онлайн-каталоге не предусмотрено. Выбор конкретного каталога осуществляется путем открытия нужного типа техники, марки, модели с учетом года выпуска или модификации.