Каталог запасных частей к технике: БелАЗ 78231 (2019). Установка электрооборудования кондиционера (78221-3700072-40);Electrical installation the air conditioner

1
1
2
3
4
4
5
6
7
8
9
10
10
11
12
13
14
14
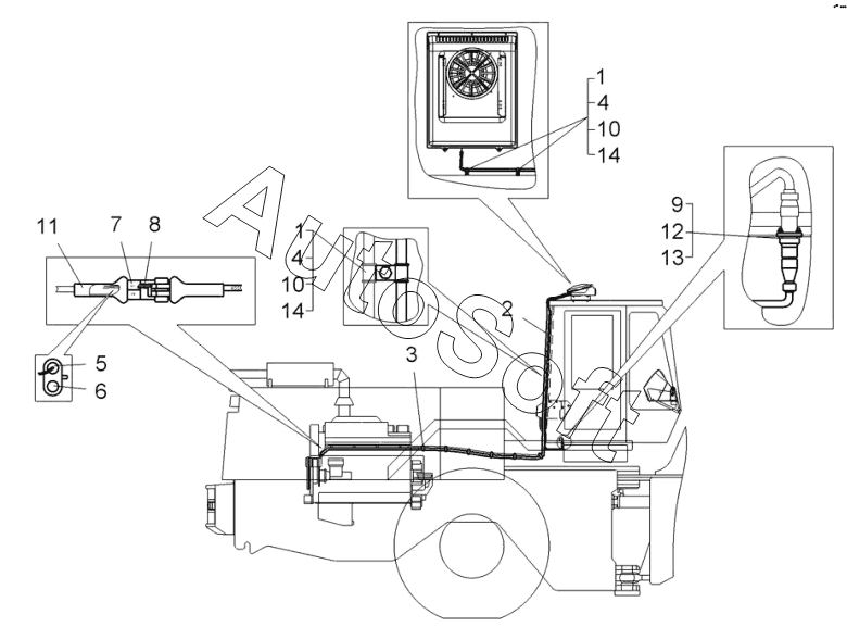
Позиция на иллюстрации | Заводской номер детали | Название детали | |
---|---|---|---|
1 | 5***1 | Прокладка | |
2 | 7***0 | Жгут проводов кондиционера | |
3 | 7***4 | Хомут | |
4 | 3***9 | Кляммер | |
5 | 2***2 | Уплотнитель | |
6 | 2***1 | Заглушка | |
7 | 2***1 | Разъем штыревой 2-х контактный | |
8 | 2***1 | Контакт штыревой | |
9 | Ш***6 | Шайба 3Т.65Г.06 | |
10 | Ш***6 | Шайба | |
11 | 8***1 | Чехол защитный | |
12 | В***9 | Винт B.M3-6gx10.48.019 | |
13 | Г***) | Гайка М3-6H.6.019 (S5,5) | |
14 | Б***) | Болт M6-6gx16.68.019(S10) |
Содержащиеся в справочниках-каталогах запасные части и детали не предлагаются к продаже, а носят исключительно информационный характер. В демо-версии артикулы (номера деталей) скрыты. Если вы хотите видеть полные оригинальные номера запчастей, вам необходимо зарегистрироваться на нашем сайте и приобрести подписку по интересующей вас конфигурации, после этого вы сможете встроить онлайн-каталоги на ваш сайт или пользоваться ими из личного кабинета нашего сайта. Обращаем ваше внимание на то, что каталоги содержат информацию об оригинальных заводских номерах и названиях запчастей. База по аналогам в данный момент не реализована. Поиска по VIN-номерам в онлайн-каталоге не предусмотрено. Выбор конкретного каталога осуществляется путем открытия нужного типа техники, марки, модели с учетом года выпуска или модификации.