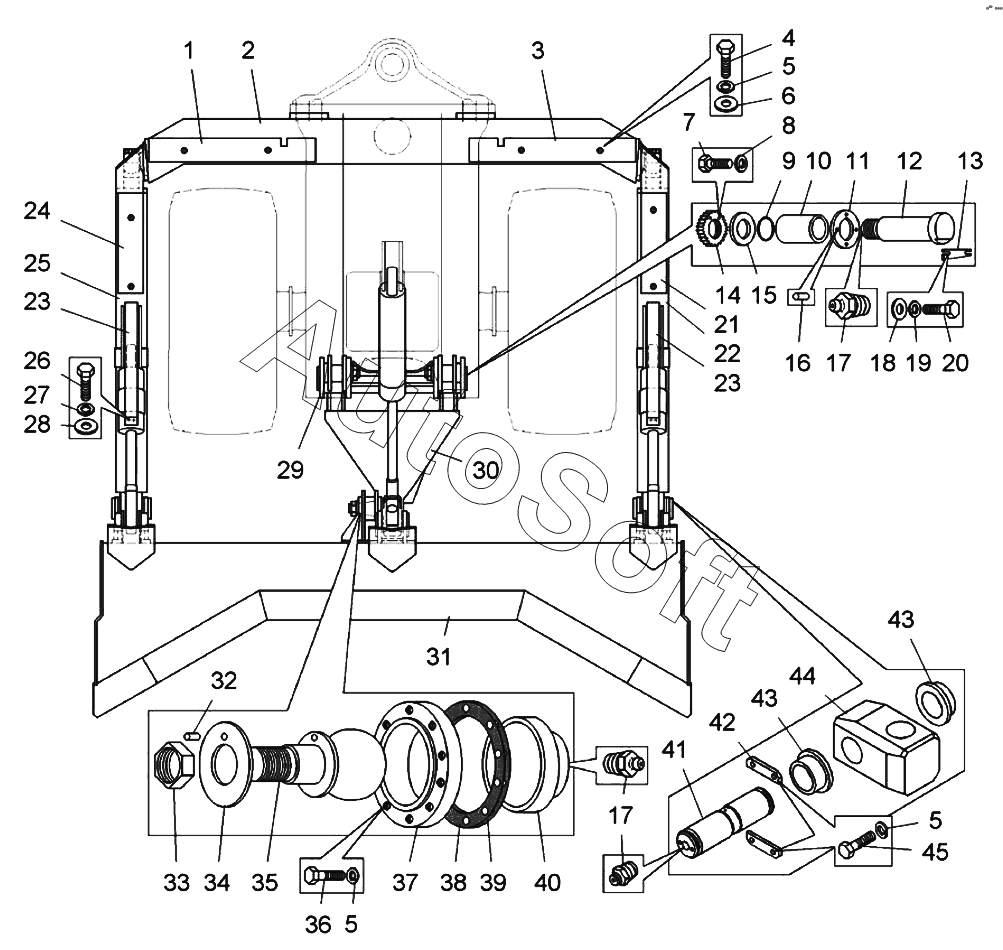
Каталог запасных частей к технике: БелАЗ 78231 (2019). Установка отвала (7823-4600002-04);Blade installation

41
45
44
43
43
42
40
39
38
37
36
35
34
33
17
17
2
3
4
5
5
5
6
7
8
9
10
11
12
13
14
15
16
1
18
19
20
21
22
23
23
24
25
26
27
28
29
30
31
32
Позиция на иллюстрации | Заводской номер детали | Название детали | |
---|---|---|---|
1 | 7***4 | Кожух | |
2 | 7***0 | Балка опорная | |
3 | 7***5 | Кожух | |
4 | 2***7 | Болт М16х70 | |
5 | 2***9 | Шайба | |
6 | 2***7 | Шайба | |
7 | 3***6 | Болт | |
8 | 2***7 | Шайба | |
9 | К***3 | Кольцо 090-100-58-2-3 | |
10 | 7***2 | Втулка | |
11 | 7***4 | Кольцо | |
12 | 7***0 | Палец | |
13 | 7***8 | Клин | |
14 | 7***9 | Гайка специальная | |
15 | 7***5 | Кольцо | |
16 | 3***5 | Штифт | |
17 | М***р | Масленка 1.3.Ц6.хр | |
18 | 2***9 | Шайба | |
19 | 2***1 | Шайба | |
20 | 3***5 | Болт | |
21 | 7***0 | Кожух | |
22 | 7***3 | Балка отвала левая | |
23 | 7***0 | Кожух защитный | |
24 | 7***0 | Кожух | |
25 | 7***2 | Балка отвала правая | |
26 | 2***7 | Болт | |
27 | 2***6 | Шайба | |
28 | 2***6 | Шайба | |
29 | 7***0 | Серьга отвала | |
30 | 7***0 | Рычаг отвала | |
31 | 7***4 | Отвал с ножами, тип "SU" | |
32 | 3***5 | Штифт | |
33 | 7***0 | Гайка | |
34 | 7***5 | Диск | |
35 | 7***1 | Опора шаровая | |
36 | 2***5 | Болт | |
37 | 7***2 | Крышка | |
38 | 7***4 | Прокладка | |
39 | 7***3 | Прокладка | |
40 | 7***3 | Подпятник | |
41 | 7***0 | Палец | |
42 | 7***4 | Пластина стопорная | |
43 | 7***6 | Втулка | |
44 | 7***2 | Серьга балки | |
45 | 2***5 | Болт | |
46 | 3***8 | Болт | |
47 | 2***3 | Шайба | |
48 | 5***0 | Пластина прижимная | |
49 | 5***4 | Втулка | |
50 | 5***8 | Втулка распорная | |
51 | 5***8 | Палец штанги | |
52 | 7***7 | Кольцо | |
53 | 7***0 | Сальник | |
54 | 5***5 | Втулка конусная | |
55 | 7***0 | Цилиндр подъема отвала | |
56 | 7***0 | Цилиндр поворота отвала | |
57 | 7***8 | Серьга цилиндра | |
58 | 7***8 | Болт специальный | |
59 | 7***0 | Гайка М36х2 самостопорящаяся | |
60 | 2***1 | Шплинт | |
61 | 7***8 | Опора шаровая | |
62 | 2***7 | Шайба | |
63 | 2***8 | Болт | |
64 | 7***8 | Крышка | |
65 | 7***9 | Втулка |
Содержащиеся в справочниках-каталогах запасные части и детали не предлагаются к продаже, а носят исключительно информационный характер. В демо-версии артикулы (номера деталей) скрыты. Если вы хотите видеть полные оригинальные номера запчастей, вам необходимо зарегистрироваться на нашем сайте и приобрести подписку по интересующей вас конфигурации, после этого вы сможете встроить онлайн-каталоги на ваш сайт или пользоваться ими из личного кабинета нашего сайта. Обращаем ваше внимание на то, что каталоги содержат информацию об оригинальных заводских номерах и названиях запчастей. База по аналогам в данный момент не реализована. Поиска по VIN-номерам в онлайн-каталоге не предусмотрено. Выбор конкретного каталога осуществляется путем открытия нужного типа техники, марки, модели с учетом года выпуска или модификации.