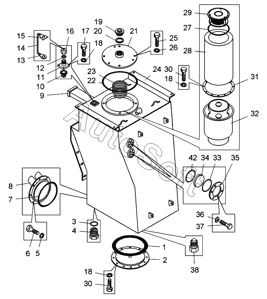
Каталог запасных частей к технике: БелАЗ 78231 (2019). Бак масляный (78231-4615010);Oil tank

29
22
23
24
25
26
27
28
28
28
21
30
30
31
32
33
34
35
36
37
38
11
2
3
4
5
6
7
8
9
10
1
12
13
14
15
16
17
18
18
18
19
20
Позиция на иллюстрации | Заводской номер детали | Название детали | |
---|---|---|---|
1 | К***3 | Кольцо 385-400-85-2-3 | |
2 | 7***8 | Крышка | |
3 | К***3 | Кольцо 040-045-30-2-3 | |
4 | 7***0 | Пробка магнитная М42х2 | |
5 | 2***6 | Шайба | |
6 | 2***5 | Болт | |
7 | К***3 | Кольцо 250-260-58-2-3 | |
8 | 7***0 | Заслонка | |
9 | 7***6 | Пластина защитная | |
10 | 7***9 | Уплотнитель | |
11 | 7***0 | Фланец | |
12 | 7***8 | Прокладка | |
13 | 7***9 | Пластина | |
14 | 7***0 | Цепочка | |
15 | 7***4 | Пластина | |
16 | 7***2 | Крышка | |
17 | 2***4 | Болт | |
18 | 2***5 | Шайба | |
19 | 5***8 | Пробка | |
20 | 5***1 | Прокладка | |
21 | 7***0 | Крышка фильтра | |
22 | К***3 | Кольцо 340-350-58-2-3 | |
23 | Т***4 | Пружина | |
24 | 7***0 | Корпус масляного бака | |
25 | 2***7 | Болт | |
26 | 2***8 | Шайба | |
27 | К***3 | Кольцо 165-175-58-2-3 | |
28 | 6***М | Элемент фильтрующий «Реготмас» | |
28 | Е***С | Элемент фильтрующий | |
28 | М***К | Элемент фильтрующий | |
29 | 7***0 | Клапан предохранительный | |
30 | 2***6 | Болт | |
31 | 7***6 | Фланец | |
32 | 7***1 | Корпус фильтра | |
33 | К***6 | Кольцо 065-070-30-2-6 | |
34 | 7***8 | Глазок | |
35 | 5***6 | Крышка топливоуказателя | |
36 | 2***4 | Шайба | |
37 | 2***8 | Болт | |
38 | 7***8 | Клапан |
Содержащиеся в справочниках-каталогах запасные части и детали не предлагаются к продаже, а носят исключительно информационный характер. В демо-версии артикулы (номера деталей) скрыты. Если вы хотите видеть полные оригинальные номера запчастей, вам необходимо зарегистрироваться на нашем сайте и приобрести подписку по интересующей вас конфигурации, после этого вы сможете встроить онлайн-каталоги на ваш сайт или пользоваться ими из личного кабинета нашего сайта. Обращаем ваше внимание на то, что каталоги содержат информацию об оригинальных заводских номерах и названиях запчастей. База по аналогам в данный момент не реализована. Поиска по VIN-номерам в онлайн-каталоге не предусмотрено. Выбор конкретного каталога осуществляется путем открытия нужного типа техники, марки, модели с учетом года выпуска или модификации.