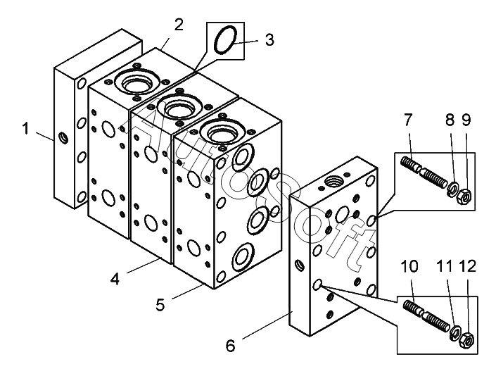
Каталог запасных частей к технике: БелАЗ 78231 (2019). Блок корпусов (78231-4612000);Block buildings

1
2
3
4
5
6
7
8
9
10
11
12
Позиция на иллюстрации | Заводской номер детали | Название детали | |
---|---|---|---|
1 | 7***0 | Корпус нагнетательньй | |
2 | 7***5 | Корпус | |
3 | К***3 | Кольцо 036-041-30-2-3 | |
4 | 7***2 | Корпус | |
5 | 7***2 | Корпус | |
6 | 7***0 | Корпус сливной | |
7 | 7***8 | Стяжка | |
8 | 2***8 | Шайба | |
9 | 2***0 | Гайка | |
10 | 7***0 | Стяжка | |
11 | 2***9 | Шайба | |
12 | 2***1 | Гайка |
Содержащиеся в справочниках-каталогах запасные части и детали не предлагаются к продаже, а носят исключительно информационный характер. В демо-версии артикулы (номера деталей) скрыты. Если вы хотите видеть полные оригинальные номера запчастей, вам необходимо зарегистрироваться на нашем сайте и приобрести подписку по интересующей вас конфигурации, после этого вы сможете встроить онлайн-каталоги на ваш сайт или пользоваться ими из личного кабинета нашего сайта. Обращаем ваше внимание на то, что каталоги содержат информацию об оригинальных заводских номерах и названиях запчастей. База по аналогам в данный момент не реализована. Поиска по VIN-номерам в онлайн-каталоге не предусмотрено. Выбор конкретного каталога осуществляется путем открытия нужного типа техники, марки, модели с учетом года выпуска или модификации.