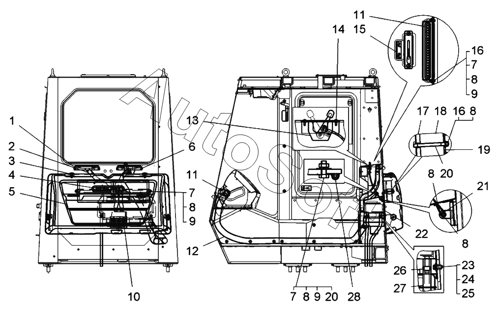
Каталог запасных частей к технике: БелАЗ 78231 (2019). Установка отопителя кабины (78250-8100002);Installation of heater cabs

15
28
27
26
25
24
23
22
21
20
20
19
18
17
16
16
1
14
13
12
11
11
10
9
9
9
8
8
8
8
8
8
7
7
7
6
5
4
3
2
Позиция на иллюстрации | Заводской номер детали | Название детали | |
---|---|---|---|
1 | 7***0 | Сопло | |
2 | 7***6 | Шланг обдува | |
3 | 5***2 | Стопор | |
4 | 7***0 | Табличка | |
5 | 7***2 | Кожух защитный | |
6 | 7***0 | Сопло | |
7 | Б***) | Болт M6-6gx16.68.019(S10) | |
8 | Ш***9 | Шайба | |
9 | Ш***6 | Шайба | |
10 | 7***2 | Сопло | |
11 | 7***2 | Сопло | |
12 | 7***4 | Шланг | |
13 | 7***0 | Привод управления заслонкой отопителя | |
14 | В***1 | Винт СпМ6х20 Е 39410-01 | |
15 | 7***2 | Табличка | |
16 | Г***D | Гайка шестигранная нормальная | |
17 | 7***6 | Уплотнитель | |
18 | Ф***М | Фильтр сменный | |
19 | 7***2 | Держатель | |
20 | 3***3 | Шпилька М6х35 | |
21 | 2***2 | Шплинт | |
22 | 7***0 | Отопитель кабины | |
23 | Б***9 | Болт M8-6gх25.68.019 | |
24 | Ш***6 | Шайба 8Т.65Г.06 | |
25 | 3***5 | Шайба | |
26 | Х***1 | Хомут | |
27 | 5***4 | Шланг | |
28 | 7***8 | Прижим |
Содержащиеся в справочниках-каталогах запасные части и детали не предлагаются к продаже, а носят исключительно информационный характер. В демо-версии артикулы (номера деталей) скрыты. Если вы хотите видеть полные оригинальные номера запчастей, вам необходимо зарегистрироваться на нашем сайте и приобрести подписку по интересующей вас конфигурации, после этого вы сможете встроить онлайн-каталоги на ваш сайт или пользоваться ими из личного кабинета нашего сайта. Обращаем ваше внимание на то, что каталоги содержат информацию об оригинальных заводских номерах и названиях запчастей. База по аналогам в данный момент не реализована. Поиска по VIN-номерам в онлайн-каталоге не предусмотрено. Выбор конкретного каталога осуществляется путем открытия нужного типа техники, марки, модели с учетом года выпуска или модификации.