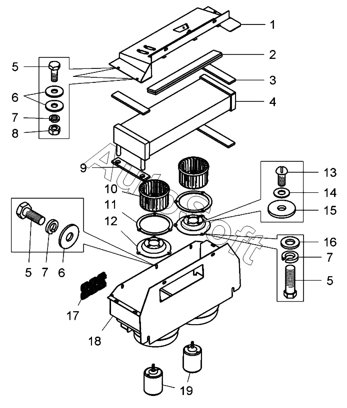
Каталог запасных частей к технике: БелАЗ 78231 (2019). Отопитель кабины (7822-8101010-10);Cabin heater

10
19
18
17
16
15
14
13
12
11
1
9
8
7
7
7
6
6
5
5
5
4
3
2
Позиция на иллюстрации | Заводской номер детали | Название детали | |
---|---|---|---|
1 | 7***5 | Панель кожуха отопителя | |
2 | 7***0 | Прокладка заслонки | |
3 | 7***3 | Прокладка радиатора отопителя | |
4 | 7***0 | Радиатор отопителя | |
5 | Б***) | Болт M6-6gx16.68.019(S10) | |
6 | Ш***9 | Шайба | |
7 | Ш***6 | Шайба | |
8 | Г***) | Гайка M6-6H.6.019(S10) | |
9 | 7***4 | Прокладка | |
10 | 7***8 | Ротор вентилятора | |
11 | 7***0 | Прокладка диска электродвигателя | |
12 | 7***4 | Диск электродвигателя | |
13 | В***9 | Винт B.М5-6gх10.48.019 | |
14 | Ш***9 | Шайба A.5x1,2.01.08кп.019 | |
15 | 7***2 | Прокладка электродвигателя | |
16 | 2***4 | Шайба | |
17 | 7***2 | Сопло | |
18 | 7***0 | Кожух отопителя | |
19 | Д***2 | Электродвигатель |
Содержащиеся в справочниках-каталогах запасные части и детали не предлагаются к продаже, а носят исключительно информационный характер. В демо-версии артикулы (номера деталей) скрыты. Если вы хотите видеть полные оригинальные номера запчастей, вам необходимо зарегистрироваться на нашем сайте и приобрести подписку по интересующей вас конфигурации, после этого вы сможете встроить онлайн-каталоги на ваш сайт или пользоваться ими из личного кабинета нашего сайта. Обращаем ваше внимание на то, что каталоги содержат информацию об оригинальных заводских номерах и названиях запчастей. База по аналогам в данный момент не реализована. Поиска по VIN-номерам в онлайн-каталоге не предусмотрено. Выбор конкретного каталога осуществляется путем открытия нужного типа техники, марки, модели с учетом года выпуска или модификации.