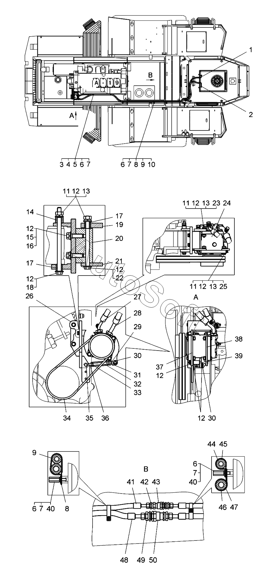
Каталог запасных частей к технике: БелАЗ 78231 (2019). Установка трубопроводов кондиционера (78221-8100008-20);Installation of pipelines of air-conditioner

39
27
28
29
30
30
31
32
33
34
35
36
37
38
26
40
40
41
42
43
44
45
46
47
48
49
50
14
2
3
4
5
6
6
6
6
7
7
7
7
8
8
9
9
10
11
11
11
12
12
12
12
12
12
12
12
13
13
13
1
15
16
17
17
18
19
20
21
22
23
24
25
Позиция на иллюстрации | Заводской номер детали | Название детали | |
---|---|---|---|
1 | 6***A | Фитинг | |
2 | 6***A | Фитинг | |
3 | 7***6 | Кронштейн | |
4 | Б***) | Болт M6-6gx20.68.019(S10) | |
5 | Г***) | Гайка M6-6H.6.019(S10) | |
6 | Ш***9 | Шайба | |
7 | Ш***6 | Шайба | |
8 | 3***8 | Кляммер | |
9 | 5***8 | Прокладка | |
10 | Б***) | Болт M6-6gx16.68.019(S10) | |
11 | Г***) | Гайка М10-6H.6.019 (S17) | |
12 | 2***6 | Шайба | |
13 | Ш***6 | Шайба 10Л.65Г.06 | |
14 | 7***8 | Втулка | |
15 | Б***9 | Болт M10-6gх35.68.019 | |
16 | Ш***6 | Шайба 10 ОТ.65Г.06 | |
17 | 7***9 | Втулка | |
18 | 3***8 | Болт | |
19 | 7***8 | Ребро | |
20 | 7***5 | Опора | |
21 | 7***9 | Ребро | |
22 | Б***9 | Болт M10-6gх130.109.40Х.019 | |
23 | Б***9 | Болт M10-6gх45.68.019 | |
24 | К***5 | Компрессор SD7H15 6155 | |
25 | Б***9 | Болт M10-6gх38.68.019 | |
26 | 7***0 | Кронштейн | |
27 | 6***A | Фитинг | |
28 | 6***A | Фитинг | |
29 | 7***0 | Тяга правая | |
30 | Ш***9 | Шплинт 3,2х20.01.019 | |
31 | Г***) | Гайка М12х1,25-6H.6.019 (S19) | |
32 | 7***4 | Фиксатор тяги | |
33 | 3***1 | Гайка М12х1,25-6Н-LH | |
34 | Р***0 | Ремень А-1000 | |
35 | 2***8 | Палец | |
36 | 7***1 | Тяга левая | |
37 | 7***7 | Ребро | |
38 | 7***6 | Ребро | |
39 | 7***7 | Держатель | |
40 | 7***7 | Держатель | |
41 | Ф***0 | Фитинг | |
42 | П***8 | Переходник ПР 08 | |
43 | М***8 | Муфта быстроразъемная БС 08 | |
44 | 6***A | Шланг | |
45 | 5***5 | Трубка | |
46 | 6***A | Шланг | |
47 | 5***1 | Трубка | |
48 | Ф***0 | Фитинг | |
49 | П***0 | Переходник ПР 10 | |
50 | М***0 | Муфта быстроразъемная БС 10 |
Содержащиеся в справочниках-каталогах запасные части и детали не предлагаются к продаже, а носят исключительно информационный характер. В демо-версии артикулы (номера деталей) скрыты. Если вы хотите видеть полные оригинальные номера запчастей, вам необходимо зарегистрироваться на нашем сайте и приобрести подписку по интересующей вас конфигурации, после этого вы сможете встроить онлайн-каталоги на ваш сайт или пользоваться ими из личного кабинета нашего сайта. Обращаем ваше внимание на то, что каталоги содержат информацию об оригинальных заводских номерах и названиях запчастей. База по аналогам в данный момент не реализована. Поиска по VIN-номерам в онлайн-каталоге не предусмотрено. Выбор конкретного каталога осуществляется путем открытия нужного типа техники, марки, модели с учетом года выпуска или модификации.