Каталог запасных частей к технике: БелАЗ 78231 (2019). Электромагнит (531-1705048-11);Electromagnet

1
2
3
4
5
6
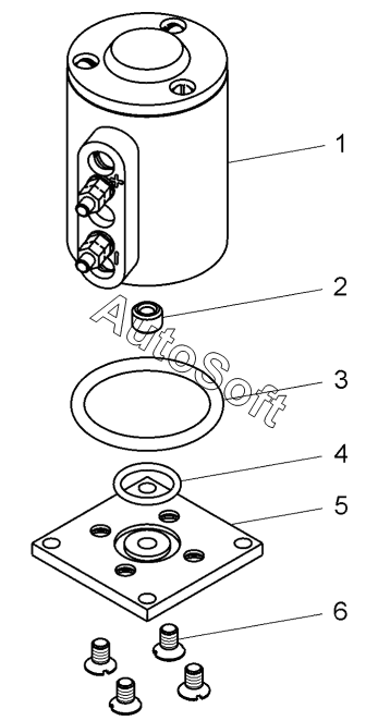
Позиция на иллюстрации | Заводской номер детали | Название детали | |
---|---|---|---|
1 | Э***2 | Электромагнит | |
2 | 5***6 | Втулка | |
3 | К***3 | Кольцо 045-053-46-2-3 | |
4 | К***6 | Кольцо 019-023-25-2-6 | |
5 | 7***6 | Фланец | |
6 | 2***2 | Винт |
Содержащиеся в справочниках-каталогах запасные части и детали не предлагаются к продаже, а носят исключительно информационный характер. В демо-версии артикулы (номера деталей) скрыты. Если вы хотите видеть полные оригинальные номера запчастей, вам необходимо зарегистрироваться на нашем сайте и приобрести подписку по интересующей вас конфигурации, после этого вы сможете встроить онлайн-каталоги на ваш сайт или пользоваться ими из личного кабинета нашего сайта. Обращаем ваше внимание на то, что каталоги содержат информацию об оригинальных заводских номерах и названиях запчастей. База по аналогам в данный момент не реализована. Поиска по VIN-номерам в онлайн-каталоге не предусмотрено. Выбор конкретного каталога осуществляется путем открытия нужного типа техники, марки, модели с учетом года выпуска или модификации.