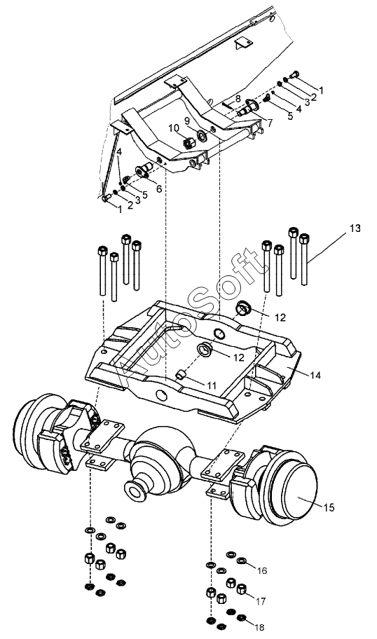
Каталог запасных частей к технике: ЧСДМ TL-155 (2023). Установка моста заднего (TL150.03.50.000)

10
18
17
16
15
14
13
12
12
11
1
1
9
8
7
6
5
5
4
4
3
3
2
2
Позиция на иллюстрации | Заводской номер детали | Название детали | |
---|---|---|---|
1 | Б***) | Болт М20-6gх35.58.019 (S30) | |
2 | Ш***9 | Шайба | |
3 | Ш***9 | Шайба С20.02.019 | |
4 | 2***2 | Колпачок пресс-масленки | |
5 | М***6 | Масленка 1.2.Ц6 | |
6 | T***0 | Ось | |
7 | T***0 | Ось | |
8 | Ш***3 | Шплинт 8х63 | |
9 | 0***2 | Шайба | |
10 | 0***3 | Гайка | |
11 | А***3 | Втулка | |
12 | В***9 | Втулка | |
13 | В***1 | Шпилька | |
14 | T***1 | Рамка моста заднего | |
15 | Z***B | Мост задний | |
16 | Ш***9 | Шайба | |
17 | 0***4 | Гайка | |
18 | 0***5 | Гайка |
Содержащиеся в справочниках-каталогах запасные части и детали не предлагаются к продаже, а носят исключительно информационный характер. В демо-версии артикулы (номера деталей) скрыты. Если вы хотите видеть полные оригинальные номера запчастей, вам необходимо зарегистрироваться на нашем сайте и приобрести подписку по интересующей вас конфигурации, после этого вы сможете встроить онлайн-каталоги на ваш сайт или пользоваться ими из личного кабинета нашего сайта. Обращаем ваше внимание на то, что каталоги содержат информацию об оригинальных заводских номерах и названиях запчастей. База по аналогам в данный момент не реализована. Поиска по VIN-номерам в онлайн-каталоге не предусмотрено. Выбор конкретного каталога осуществляется путем открытия нужного типа техники, марки, модели с учетом года выпуска или модификации.