Каталог запасных частей к технике: ЧСДМ TL-155 (2023). Электрооборудование погрузчика (15502.41.00.000)

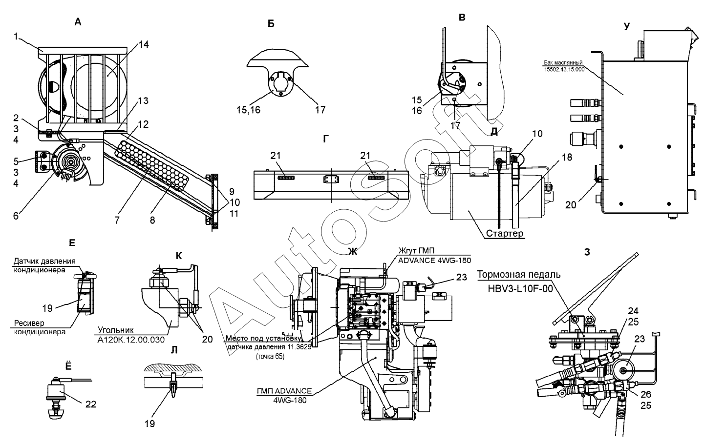
14
26
25
25
24
23
23
22
21
21
20
20
19
19
18
17
17
16
16
15
15
1
13
12
11
10
10
9
8
7
6
5
4
4
3
3
2
Позиция на иллюстрации | Заводской номер детали | Название детали | |
---|---|---|---|
1 | 1***0 | Защитный кожух | |
2 | Б***9 | Болт М6-6gх16.58.019 | |
3 | Ш***9 | Шайба 6 65Г 019 | |
4 | Ш***9 | Шайба C.6.02.019 | |
5 | Б***9 | Болт М6-6gх25.58.019 | |
6 | С***3 | Сигнал звуковой С313 | |
7 | 1***0 | Жгут | |
8 | 0***1 | Наклейка светоотражателя | |
9 | Б***9 | Болт М10-6gх35.58.019 | |
10 | Ш***9 | Шайба 10 65Г 019 | |
11 | Ш***9 | Шайба С.10.02.019 | |
12 | 1***0 | Кронштейн | |
13 | Д***0 | Кольцо | |
14 | Р***0 | Фара дорожная | |
15 | П***0 | Розетка переностной лампы | |
16 | 5***2 | Чехол защитный | |
17 | В***9 | Винт В2.М4-6gх35.58.019 | |
18 | T***0 | Провод | |
19 | К***0 | Кабельная стяжка усиленная КСУ 9x350 | |
20 | Т***В | Датчик температуры | |
21 | 0***3 | Наклейка светоотражателя | |
22 | 1***0 | Датчик указателя давления | |
23 | 1***9 | Датчик давления | |
24 | 1***9 | Датчик давления | |
25 | U***0 | Уплотнение | |
26 | 1***9 | Датчик давления |
Содержащиеся в справочниках-каталогах запасные части и детали не предлагаются к продаже, а носят исключительно информационный характер. В демо-версии артикулы (номера деталей) скрыты. Если вы хотите видеть полные оригинальные номера запчастей, вам необходимо зарегистрироваться на нашем сайте и приобрести подписку по интересующей вас конфигурации, после этого вы сможете встроить онлайн-каталоги на ваш сайт или пользоваться ими из личного кабинета нашего сайта. Обращаем ваше внимание на то, что каталоги содержат информацию об оригинальных заводских номерах и названиях запчастей. База по аналогам в данный момент не реализована. Поиска по VIN-номерам в онлайн-каталоге не предусмотрено. Выбор конкретного каталога осуществляется путем открытия нужного типа техники, марки, модели с учетом года выпуска или модификации.