Каталог запасных частей к технике: ЧСДМ TL-155 (2023). Гидросистема рабочего оборудования (15502.43.00.000-02)

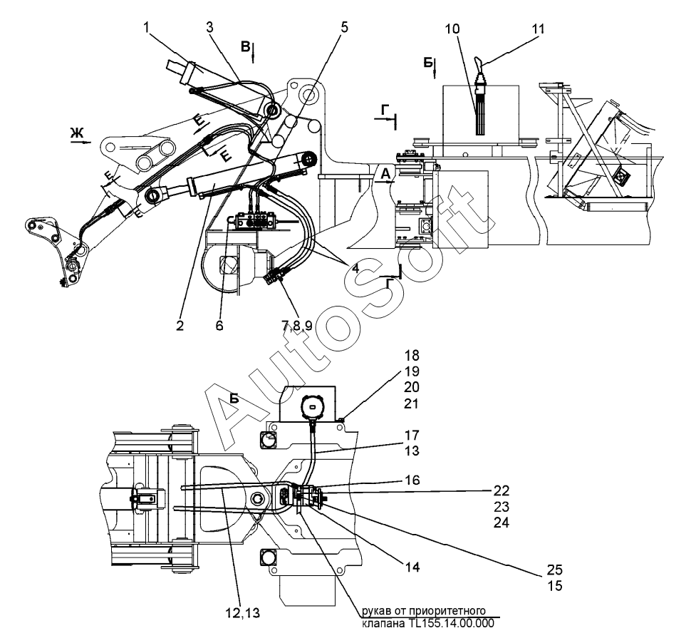
13
13
25
24
23
22
21
20
19
18
17
16
15
14
1
12
11
10
9
8
7
6
5
4
3
2
Позиция на иллюстрации | Заводской номер детали | Название детали | |
---|---|---|---|
1 | T***0 | Гидроцилиндр | |
2 | T***0 | Гидроцилиндр | |
3 | Р***1 | РВД 19-140-1450-0,3-68/11.90-М36х2/М33х2-У1 | |
4 | Р***П | РВД 19-140-1650-0.3-11.90/12- М33х2/М42х2-У1-СПП | |
5 | Р***1 | РВД 19-140-800-0,3-05.45/68-D44,5/M36x2-Y1 | |
6 | Р***П | РВД 25.4-112-2000-0.34-11/05.180-M42x2/D44.5 -У1-СПП | |
7 | T***0 | Тройник | |
8 | У***4 | Уплотнение | |
9 | S***C | Муфта измерительная | |
10 | С***5 | Спираль защитная | |
11 | T***0 | Блок управления | |
12 | Р***П | РВД 25.4-112-2000-0.34-11/05.180-M42x2/D44.5 -У1-СПП | |
13 | Х***0 | Хомут | |
14 | 1***0 | Установка гидронасоса | |
15 | Ш***2 | Шайба пружинная | |
16 | Т***0 | Угольник | |
17 | Р***П | РВД 25,4-112-2700-0,34-0.5/15.45-D44.5/D84.1-У 1-СПП | |
18 | Б***9 | Болт М12-6gх35.58.019 | |
19 | Г***9 | Гайка М12-6H.5.019 | |
20 | Ш***9 | Шайба | |
21 | Ш***9 | Шайба 12 65Г 019 | |
22 | Ф***) | Фланец Ю.05.507-D50,8-(60х30) | |
23 | К***0 | Крестовина Ю.01/05/02/25-М27х1,5/D50,8/М42х2/К1/4-90 Лев СБ с крепежом | |
24 | К***0 | Кольцо 039-045-36 Parker/2-222 №552-90 | |
25 | В***n | Винт цил.гол.DIN912-8.8-IH8-(A2K)-M10x30 zn |
Содержащиеся в справочниках-каталогах запасные части и детали не предлагаются к продаже, а носят исключительно информационный характер. В демо-версии артикулы (номера деталей) скрыты. Если вы хотите видеть полные оригинальные номера запчастей, вам необходимо зарегистрироваться на нашем сайте и приобрести подписку по интересующей вас конфигурации, после этого вы сможете встроить онлайн-каталоги на ваш сайт или пользоваться ими из личного кабинета нашего сайта. Обращаем ваше внимание на то, что каталоги содержат информацию об оригинальных заводских номерах и названиях запчастей. База по аналогам в данный момент не реализована. Поиска по VIN-номерам в онлайн-каталоге не предусмотрено. Выбор конкретного каталога осуществляется путем открытия нужного типа техники, марки, модели с учетом года выпуска или модификации.