Каталог запасных частей к технике: ЧСДМ TL-155 (2023). Блок управления (TL150.43.00.060; TL150.43.00.060-01)

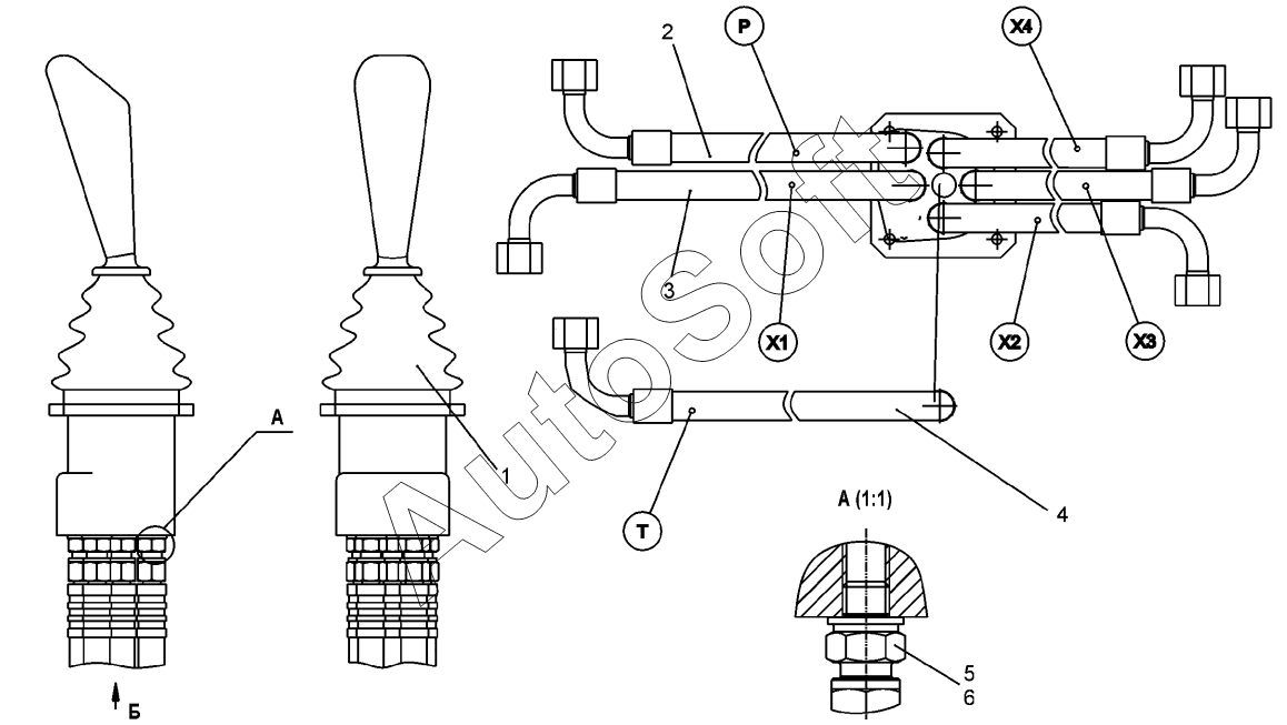
1
2
2
3
3
4
4
5
6
Позиция на иллюстрации | Заводской номер детали | Название детали | |
---|---|---|---|
1 | Б***М | Блок управления 220 ВНМ | |
2 | Р***1 | РВД 6,4-90-3500-0,1-11/11-М16х1,5/М16х1,5-Т1 | |
2 | Р***1 | РВД 6,4-90-3500-0,1-11/11-М16х1,5/М1бх1,5-У1 | |
3 | Р***1 | РВД 6,4-90-2800-0,1-11/11-М16х1,5/М16х1,5-Т1 | |
3 | Р***1 | РВД 6,4-90-2800-0,1-11/11-М16х1,5/М16х1,5-У1 | |
4 | Р***1 | РВД 6,4-90-2000-0,1-11/11-М16х1,5/М16х1,5-Т1 | |
4 | Р***1 | РВД 6,4-90-2000-0,1-11/11-М16х1,5/М16х1,5-У1 | |
5 | 0***3 | Штуцер | |
6 | U***4 | Уплотнение |
Содержащиеся в справочниках-каталогах запасные части и детали не предлагаются к продаже, а носят исключительно информационный характер. В демо-версии артикулы (номера деталей) скрыты. Если вы хотите видеть полные оригинальные номера запчастей, вам необходимо зарегистрироваться на нашем сайте и приобрести подписку по интересующей вас конфигурации, после этого вы сможете встроить онлайн-каталоги на ваш сайт или пользоваться ими из личного кабинета нашего сайта. Обращаем ваше внимание на то, что каталоги содержат информацию об оригинальных заводских номерах и названиях запчастей. База по аналогам в данный момент не реализована. Поиска по VIN-номерам в онлайн-каталоге не предусмотрено. Выбор конкретного каталога осуществляется путем открытия нужного типа техники, марки, модели с учетом года выпуска или модификации.